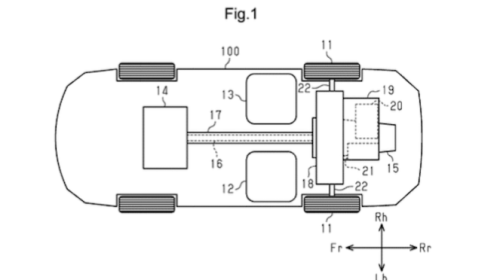
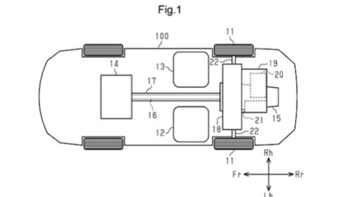
Hyundai Creta N Line Mengawali pekan pertama 2026, perhatian pembaca VIVA Otomotif tertuju pada tiga isu yang dekat dengan kebutuhan pemilik kendaraan dan arah teknologi ke depan. Mulai dari kabar baik bagi pemilik kendaraan di Jawa Barat, hitung-hitungan ongkos bulanan menggunakan Hyundai Creta di Jakarta, hingga bocoran teknologi hybrid baru Toyota yang disebut punya rasa mobil sport. Berikut rangkumannya. 1. Ada Kabar Baik untuk Pemilik Kendaraan di Jawa Barat Ilustrasi STNK 2. Dipakai Harian di Jakarta, Segini Ongkos Bulanan Punya Hyundai Creta Hyundai Creta Prime 3. Toyota Diam-diam Siapkan Teknologi Baru, Hybrid Bakal Mirip Mobil Sport Paten teknologi hybrid punya Toyota