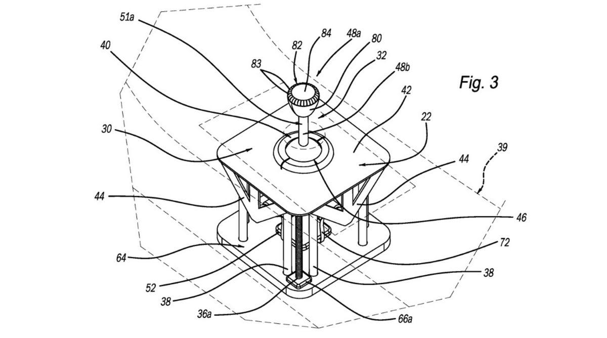
24 deportivos baratos y bonitos que puedes comprarLos coches de tracción trasera más asequibles y divertidosLos 22 mejores coches que aún ofrecen cambio manual A riesgo de caer en la monotonía debemos reconocer que, en estos meses, las últimas patentes de automoción publicadas en Estados Unidos nos han mostrado ideas muy curiosas y ampliamente debatibles sobre lo que pueden llegar a incorporar los coches del futuro.La última de estas patentes que hemos conocido la firma Ford y, a grandes rasgos, revela que el fabricante norteamericano estaría barajando la idea de un cambio manual para modelos eléctricos. Una idea que no es precisamente nueva -Toyota también lleva tiempo trabajando en ella-, pero lo que sí es novedad es la manera que han elegido los de Detroit para encararla: ya que ponen la palanca, se han esforzado para que sea capaz de controlar muchas más funciones aparte del cambio de marchas.La palanca para controlarlo todo (o casi)Según se desprende del mismo documento de la patente, esta palanca no posee ninguna vinculación mecánica con ningún elemento del motor eléctrico o las transmisiones, lo cual ya descarta que estemos ante un cambio de marchas al uso.Ford Cambio Manual EléctricosEn lugar de eso, la palanca de Ford parece pensada para comportarse como un gigantesco mando multifunción donde, además de seleccionar cada marcha, sería posible elegir entre los modos de conducción disponibles en el coche o cambiar varios de sus ajustes.En el texto de la patente, Ford no da muchas pistas sobre cómo podría controlarse esta segunda funcionalidad, aunque nosotros nos inclinamos por algún tipo de anillo giratorio en el pomo de la palanca, con una posición para cada modo. Lo que sí aparece más explícito es la variedad de movimientos que permitiría elegir el sistema para cambiar de marcha: siguiendo un recorrido clásico en 'H', tirando o empujando como en un cambio secuencial de competición o, más extraño aún, moviéndola en 'X'.Ford Cambio Manual Eléctricos¿Llegaremos a ver esta palanca en un Ford eléctrico? En esta ocasión, el texto y los esquemas de la patente son algo más vagos que en otras ocasiones, por lo que habrá que esperar a que la marca del óvalo haga un anuncio más o menos oficial al respecto.