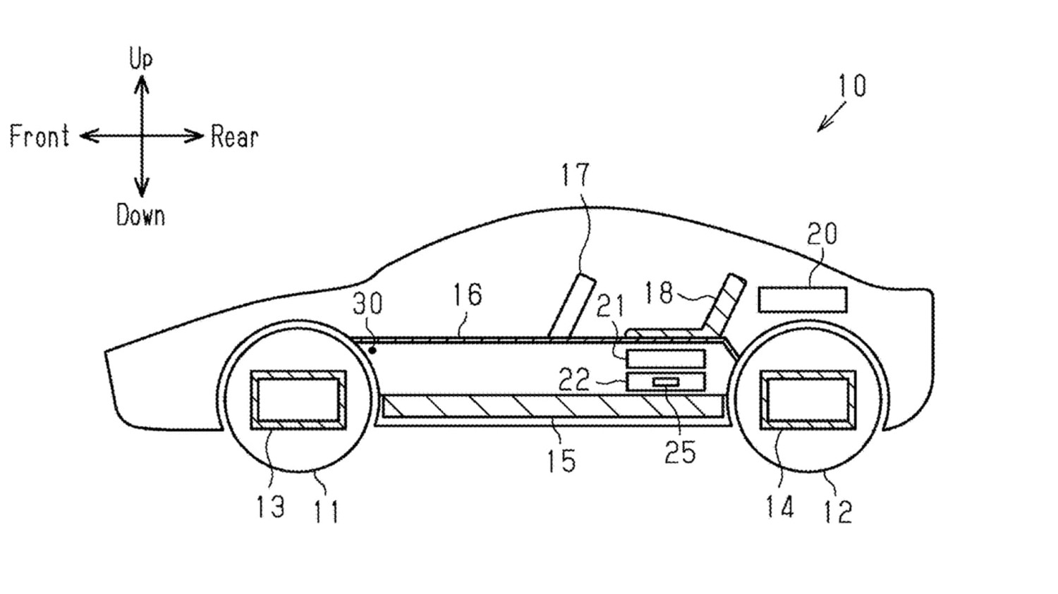
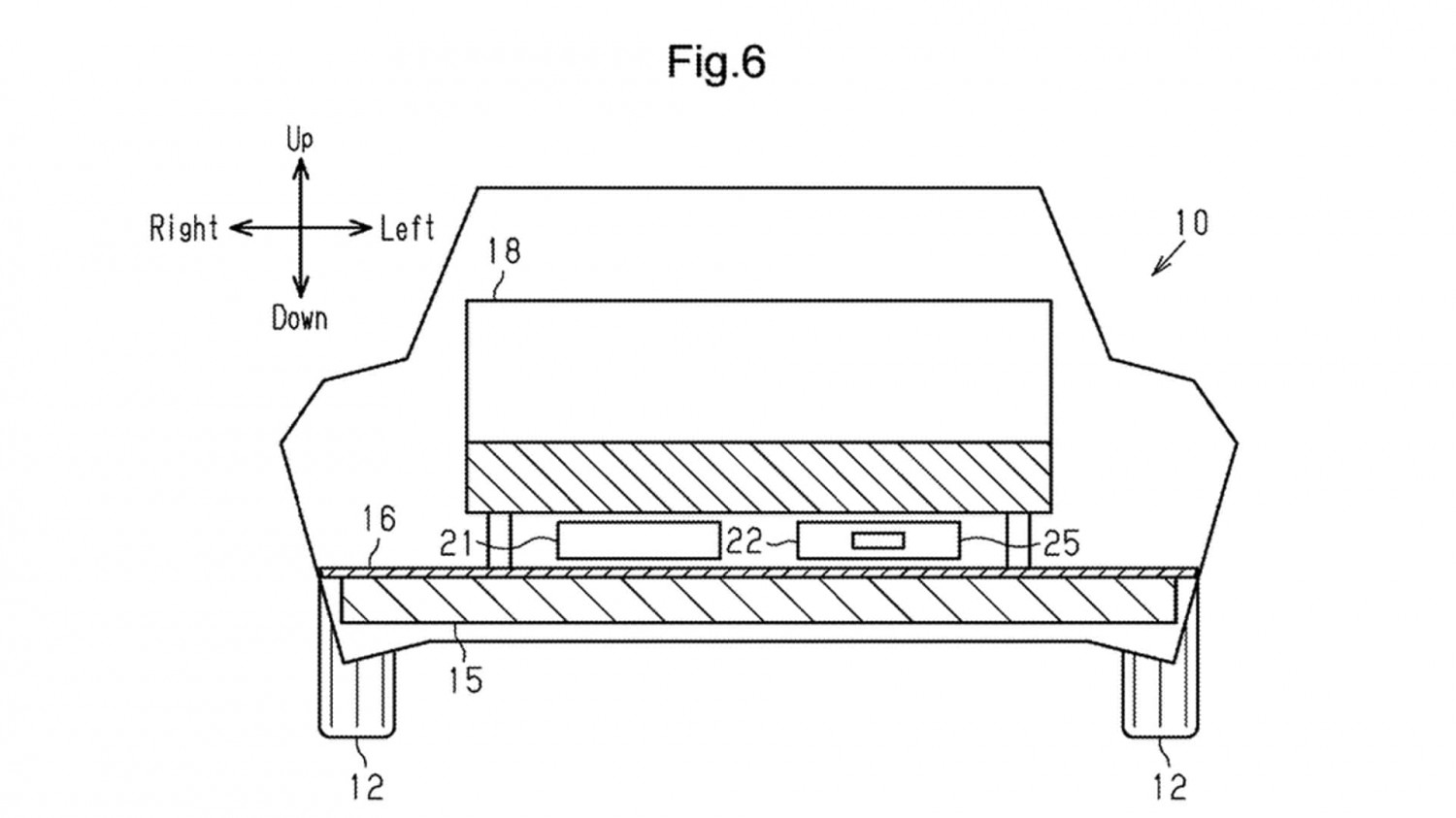
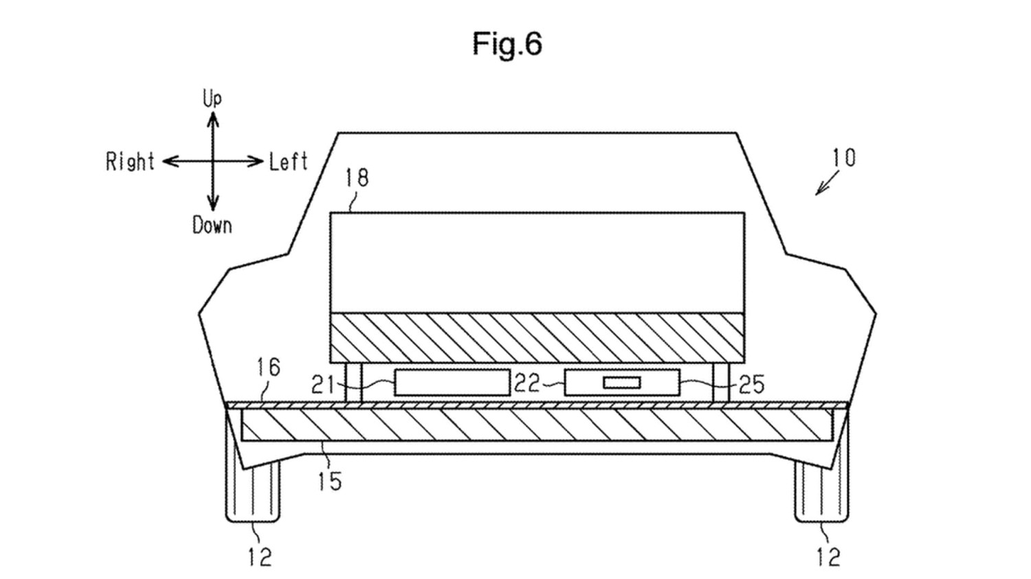
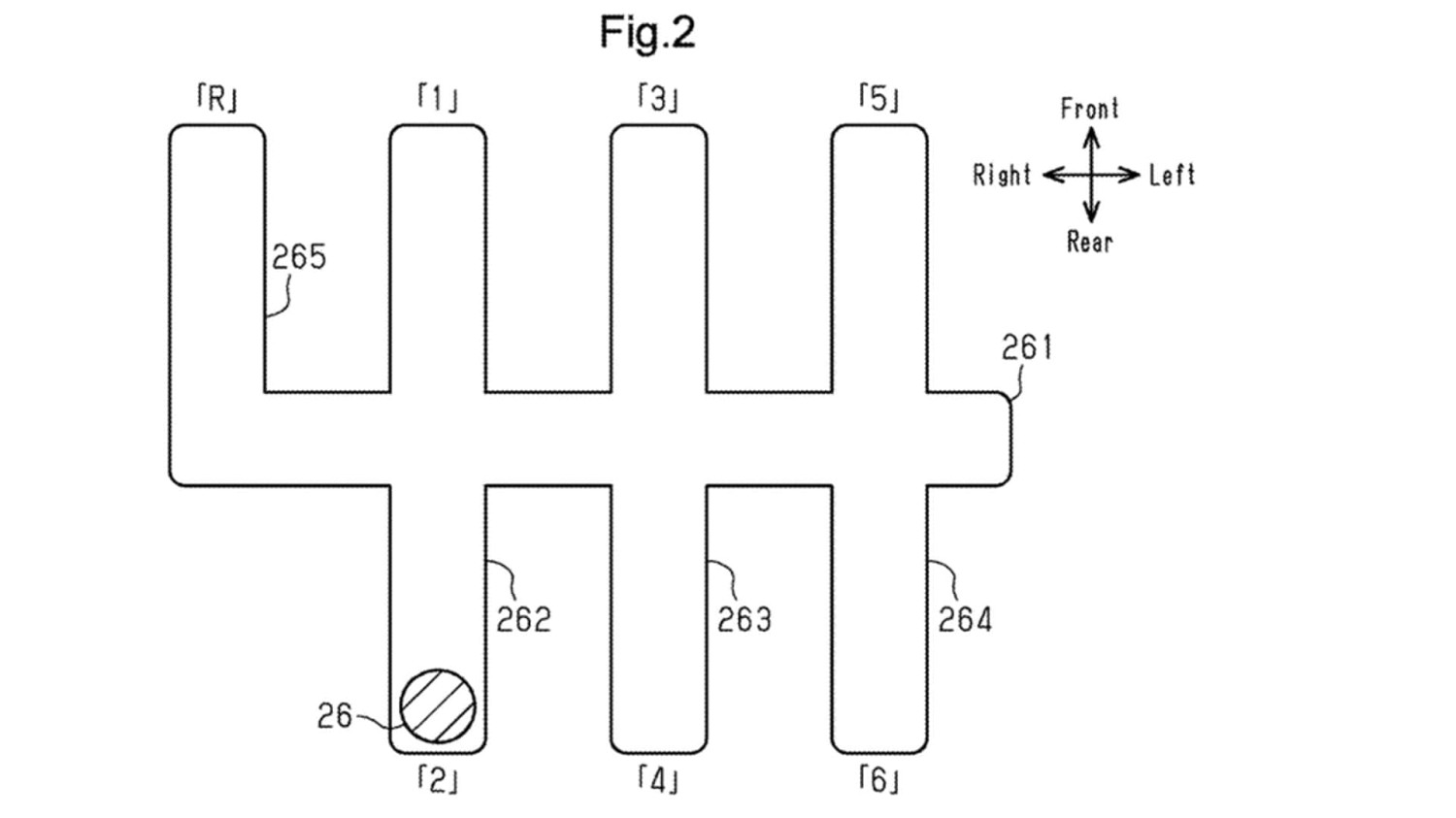
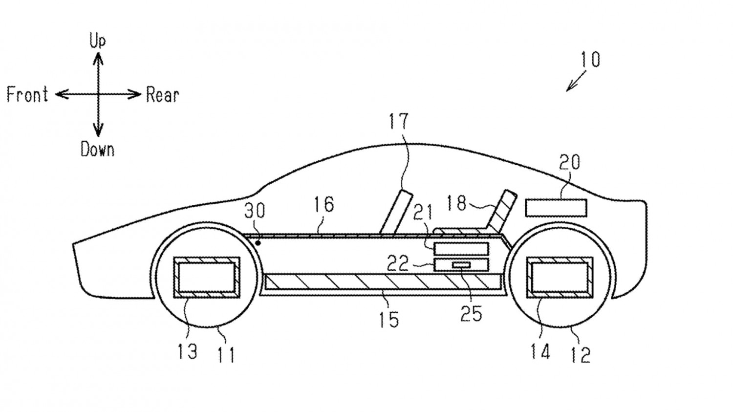
Toyota étudie de nouvelles configurations techniques pour ses futures voitures électriques. C’est ce que révèlent deux brevets déposés en 2025 et rendus publics début 2026, qui décrivent une architecture alternative pour l’implantation des moteurs électriques, des composants de commande et des batteries. Ces documents, repérés initialement par Autoblog, donnent des indications sur la manière dont le constructeur japonais cherche à dépasser certaines limites des véhicules électriques actuels, notamment celles liées à l’optimisation de l’espace et à l’équilibrage du véhicule. Une implantation différente pour libérer de l’espace Dans ces brevets, Toyota imagine une voiture électrique à deux rangées de sièges dans laquelle certaines pièces essentielles de la chaîne de traction ne sont plus concentrées uniquement autour de la batterie, installée sous l’habitacle. À l’inverse, le moteur électrique et l’unité de gestion de puissance sont regroupés en unités électromécaniques séparées, pouvant être placées devant ou derrière le pack batterie, ou encore au sein d’un tunnel central entre les sièges avant. Ce choix pourrait réduire l’épaisseur totale nécessaire à l’intégration de la batterie, en laissant davantage de liberté pour la conception de l’habitacle. Toyota, de nouveaux brevets pour des voitures électriques plus spacieuses Une telle solution permettrait de mieux moduler l’espace offert aux passagers et au coffre, mais aussi d’adapter une même base technique à des modèles aux proportions différentes. À terme, cela pourrait faciliter l’arrivée de voitures électriques plus basses et plus compactes, comme des berlines ou des compactes à hayon, sans renoncer au confort et à la polyvalence. Déplacer certains composants loin de la batterie pourrait aussi contribuer à une gestion plus efficace des éléments sensibles du point de vue de la sécurité. Équilibre dynamique et pistes déjà explorées L’un des brevets Toyota envisage également de déplacer plusieurs dispositifs liés à la batterie sous la deuxième rangée de sièges, dans une zone située entre le pack batterie et l’une des unités électromécaniques. Une configuration de ce type influerait sur la répartition des masses, un facteur déterminant pour la stabilité et les sensations de conduite. Repositionner les composants les plus lourds permet en effet aux ingénieurs d’agir sur l’équilibre général de la voiture, avec des bénéfices possibles sur le comportement routier. Autre conséquence potentielle de cette architecture : la réduction de la longueur des faisceaux nécessaires pour relier les différents éléments du système électrique. Moins de câbles, c’est moins de poids, moins d’encombrement et, potentiellement, une meilleure efficience globale. Toyota dispose déjà d’une expérience dans l’électrification avec des configurations à double moteur. Par ailleurs, parmi les détails évoqués figure aussi une référence à un système de simulation de boîte manuelle pour véhicules électriques, une solution que le constructeur avait déjà présentée à titre expérimental sur une version électrique du Lexus UX, modèle de la marque premium du groupe Toyota. La simulation d’une boîte manuelle pour véhicules électriques Comme toujours avec les brevets, rien ne garantit que ces technologies arriveront directement sur la route : il s’agit souvent d’études préliminaires. Toutefois, elles offrent un aperçu concret des axes de développement sur lesquels Toyota concentre ses travaux de recherche, comme le montre aussi un autre brevet signé par la même ingénieure, Nanae Iwasaki, publié en 2024 et consacré à la gestion intelligente de la recharge en fonction de la température des moteurs et des onduleurs.