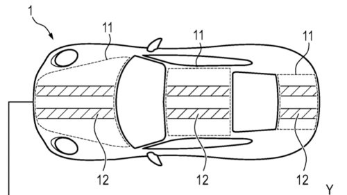
Porsche a déposé un nouveau brevet pour des bandes de course dissimulées. La technologie repose sur un matériau de type film, que le constructeur décrit comme du papier électronique ou un revêtement paramagnétique, appliqué sur la carrosserie et capable de changer de couleur lorsqu’une tension électrique est appliquée. Le brevet présente plusieurs façons dont Porsche pourrait exploiter cette technologie, la plus marquante étant celle de bandes de course pouvant disparaître. D’après le dépôt allemand, ces bandes pourraient changer de couleur en fonction du mode de conduite, par exemple vert en mode éco ou rouge en mode sport, ou bien disparaître complètement sur simple pression d’un bouton. Les illustrations montrent également l’utilisation de ce film pour des bandes situées derrière les roues arrière, ainsi que sur le diffuseur arrière. Le brevet évoque aussi l’application de cette technologie sur un véhicule électrique afin d’afficher directement sur l’extérieur l’état de charge de la voiture. C’est une technologie intéressante, mais pas vraiment inédite. Les constructeurs utilisent déjà des vitrages électrochromes dont l’opacité varie en fonction du courant électrique. Ici, il s’agit simplement d’aller un cran plus loin. Les voitures qui changent de couleur ne sont pas un concept nouveau. BMW avait présenté il y a quelques années le concept i Vision Dee avec une carrosserie en E Ink, permettant à la voiture d’arborer 32 teintes différentes. Le brevet de Porsche illustre comment un constructeur pourrait utiliser des surfaces extérieures à couleur variable de manière innovante et utile, en allant au-delà du simple aspect esthétique.