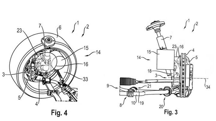
La firma alemana más deportiva sigue innovando en el campo de la dinámica de conducción. Porsche / Motor.esPorsche tiene una nueva obsesión y ya no es la de los coches eléctricos, sino la de mejorar el comportamiento dinámico de sus modelos. Una filtración ha descubierto una de sus últimas novedades, los dibujos de patentes de unas ballestas para la suspensión, y que abren un nuevo frente.Porsche es de esas marcas que no se conforman nunca con ir a lo fácil. Lo de esta marca alemana son los retos, lo de hacer complicarse la vida, porque en esa dificultad es donde sus especialistas han logrado acercarse más todavía a la perfección tanto en la propulsión como en otros sistemas más dinámicos. La máxima de Porsche es la búsqueda de un confort superlativo, combinado con un alto grado de deportividad, cualidad innegociable, y de la que dejaron constancia en la sofisticada suspensión del Panamera.La berlina alemana prescindió de los habituales muelles, sustituidos por unos amortiguadores que no se parecen en nada a los que estás acostumbrados. Esta no ha sido la última innovación del fabricante alemán, aunque sirvió de base para la suspensión del nuevo Cayenne eléctrico, en la que las barras estabilizadoras dejaron de existir. Mientras otros fabricantes usan motores eléctricos para mover estas y equilibrar los movimientos de la carrocería, Porsche los eliminó con los propios amortiguadores electrónicos. El siguiente nivel se ha filtrado en unas patentes, supuestamente protegidas, por la Organización Mundial de la Propiedad Intelectual (OMPI) y, una vez más, sorprenden.Porsche ballestasLa nueva suspensión de Porsche usa ballestas en lugar de amortiguadores.Porsche atribuye nuevos papeles a las clásicas ballestasPorque Porsche ha recuperado las ballestas, una tecnología que se dejó de utilizar hace muchos años y que era una característica de grandes deportivos. El Corvette fue uno de estos modelos que, durante años, se ha mantenido fiel a este sistema de ballestas, llegando a a ser ridiculizado por otros rivales por la antigüedad de la solución, a pesar de su efectividad, hasta que decidió desprenderse de ellas con la llegada del C8. Lo que hace más curioso que Porsche haya vuelto a depositar un interés especial en ellas, pero no como imaginas.Porsche no sería la marca que es si no hiciese difícil lo fácil, por lo que las ballestas son sólo parte de un ingenioso sistema de suspensión en el que los habituales muelles helicoidales siguen sin tener cabida. La documentación que acompaña a estos dibujos filtrados apuntan a que las ballestas tienen la gran virtud de necesitar un espacio vertical mínimo, por lo que se pueden utilizar para reducir la altura total de la carrocería al suelo, pero también para hacer más compacto el sistema de suspensión.Esta es una aplicación, pero dos más. Una consiste en usar la ballesta para sustituir partes del brazo de control inferior, lo que permite utilizar puntales más cortos y modificar la geometría del eje delantero sin sacrificar el esquema de una suspensión independiente, al mismo tiempo que instalar un motor eléctrico -con su transmisión- directamente en el cubo de la rueda, junto con los frenos. La tercera aplicación contemplada es la de usar una ballesta de dos piezas con un sistema de bujes, donde la parte interior actúa como elemento elástico principal y la exterior amortigua el movimiento de las ruedas.La nueva patente de Porsche es rentable, más posibilidades de ser realidadIncluso, los especialistas en suspensiones de Porsche han ideado un sistema en el que un motor eléctrico o hidráulico se encarga de ajustar rigidez de los muelles, así como la distancia al suelo, lo que podría despedir a las complejas suspensiones neumáticas. Como ves, las posibilidades son más que amplias, tanto que también beneficia a los estilistas y diseñadores que pueden jugar la baza que, en ocasiones, demandad de una mayor libertad a la hora de diseñar.El inventor, un señor llamado Fric Ondrej, que es jefe de la sección de chasis y sistemas de propulsión de Porsche Engineering, ha destacado que los beneficios de esta tecnología alcanza a distintas secciones. La del diseño es una, la de la aerodinámica es otra y la de la seguridad de los peatones también, ya que explica que «las estructuras pesadas pueden ocultarse en la parte inferior del vehículo». Pero, en su campo, el de la dinámica, señala que la gran mejora se hará notar en las curvas, no sólo por un centro de gravedad más bajo, sino por «una maniobrabilidad tan precisa como la que esperamos de un Porsche».La suspensión ideal para un futuro Porsche 911 eléctricoTodo suena muy técnico, pero también demasiado eléctrico, y eso es un problema porque Porsche ya no está tan dispuesta a seguir apostando tan a lo grande por este tipo de modelos. Las patentes tienen la gran desventaja de que muchas se quedan en simple papel mojado, pero en este caso puede acabar siendo una realidad.Primero, porque el propio autor ha destacado que se trata de una solución rentable, que requiere menos componentes. Segundo, porque Porsche ya ha presentado dos sistemas de suspensiones para dos modelos diferentes en los últimos años y, tercero, el hecho de haber presentado la solicitud de la patente en 2024 puede constituir una de las grandes novedades de los esperados 718 Cayman y Boxster. Si no para este par, quizá para un futuro 911 con motores eléctricos dentro de las ruedas...