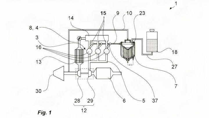
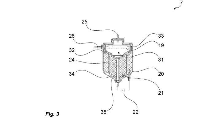
El Porsche 911 es híbrido pero la marca quiere evitar a toda costa que sea eléctrico. Los combustibles sintéticos son una opción, otra una tecnología del hidrógeno del siglo XIX.Porsche sigue buscando alternativas que eviten transformar a su modelo más icónico en un coche eléctrico. El fabricante alemán ya sabe lo que es rozar la gloria y también caer a los más bajos infiernos por negarse a ver la realidad, por lo que hacer del 911 un coche eléctrico puede acabar en un desastre bruta. La marca busca soluciones que le permitan mirar más a largo plazo. Más allá de una norma Euro 7 que causa más problemas de lo que parece.Porsche ya consiguió sacarle a Europa una excepción al uso de los combustibles sintéticos, una opción que no sólo beneficia a los alemanes, sino también a otras marcas tan deportivas o más. Pero la firma se ha dado cuenta de que la gasolina tardará aún mucho tiempo en abandonarse, por lo que busca soluciones que la mantengan por el máximo tiempo posible. Los ingenieros de Porsche han descubierto una antigua tecnología basada en el hidrógeno que podría permitir que los motores de gasolina cumplan con los requisitos climáticos cada vez más exigentes.Porsche DPMAPorsche encuentra una segunda utilidad al líquido limpiaparabrisas: fuente de producción de hidrógenoPorsche se mete en el terreno del hidrógeno y de qué formaPorsche ha demostrado ser una verdadera experta en el arte de ingeniería que rodea a los motores de gasolina, y también en el de la sobrealimentación. Dos tecnologías que se complementan a la perfección en su motor de seis cilindros boxer, y que hoy puede perdurar durante largo tiempo gracias a la tecnología híbrida, sin exponerse a los grandes problemas de emisiones: esto es desarrollando un motor que puede funcionar con gasolina, diésel e hidrógeno.En verdad, que un propulsor pueda alimentarse de tres combustibles no es nada nuevo, pero sí que el propio coche se encargue de producir el hidrógeno, a partir del agua del depósito del líquido limpiaparabrisas. Te sonará raro y más todavía con qué propósito: el de reducir el esfuerzo del catalizador para limpiar los gases. Las marcas llevan años estudiando cómo conseguir llegar a la temperatura óptima de purificación sin quemar más gasolina o diésel, barajando hacerlo a través de la electricidad.Pero nunca ha salido nada. Hasta ahora, que Porsche ha desarrollado todos los componentes y la tecnología, y que ha plasmado en la documentación de una patente que se ha filtrado del registro de patentes y propiedad intelectual de Alemania. Descubierta por colegas australianos, el sistema está diseñado para convertir el líquido limpiaparabrisas en combustible, en hidrógeno.Porsche DPMAProducir gas hidrógeno del limpiaparabrisas para calentar el catalizador.La solución al mayor problema del catalizador, como nadie se ha atrevidoLas patentes muestran la instalación del catalizador directamente en el motor y utilizaría al menos un cilindro para calentarlo a la temperatura óptima de funcionamiento. La firma habla de un «aparato de electrólisis Hoffmann», un sistema para producir gas hidrógeno inventado en 1866, sumando la idea de un modo para iniciar la producción de hidrógeno y el calentamiento del catalizador con antelación, prediciendo cuándo se pondría en marcha el vehículo o si se puede arrancar en ese modo.Esto solucionaría ese gran problema de los catalizadores, que no alcanzan su máxima eficiencia hasta que se calientan, por lo que el hidrógeno sería una forma de precalentarlos y mantener la elevada temperatura de funcionamiento mientras se conduce. El sistema considera que la entrada del hidrógeno debe estar ubicada después del turbocompresor y que se debe usar un inyector específico para cada cilindro para evitar inflamaciones en el colector de admisión.Todo suena muy técnico, pero Porsche ha encontrado la solución a un problema de años, y que permitiría a los 911 seguir funcionando con gasolina, incluso con gasolina sintética. El catalizador podría realizar su función de purificación de gases a temperaturas bajo cero, y sin necesidad de instalar un depósito adicional. El mismo del limpiaparabrisas seguiría estando presente para lavar los cristales, lo que da una idea del poco hidrógeno que se necesitaría.Lo cierto es que esto no es algo que se pudiese espera de casi ningún fabricante. Quizá tampoco de Porsche, pero las normas anticontaminación se están complicando cada vez más, pero que sea una realidad en un futuro a corto o medio plazo depende del coste de producción del sistema y de saber si, en verdad, reduce las emisiones contaminantes o no.