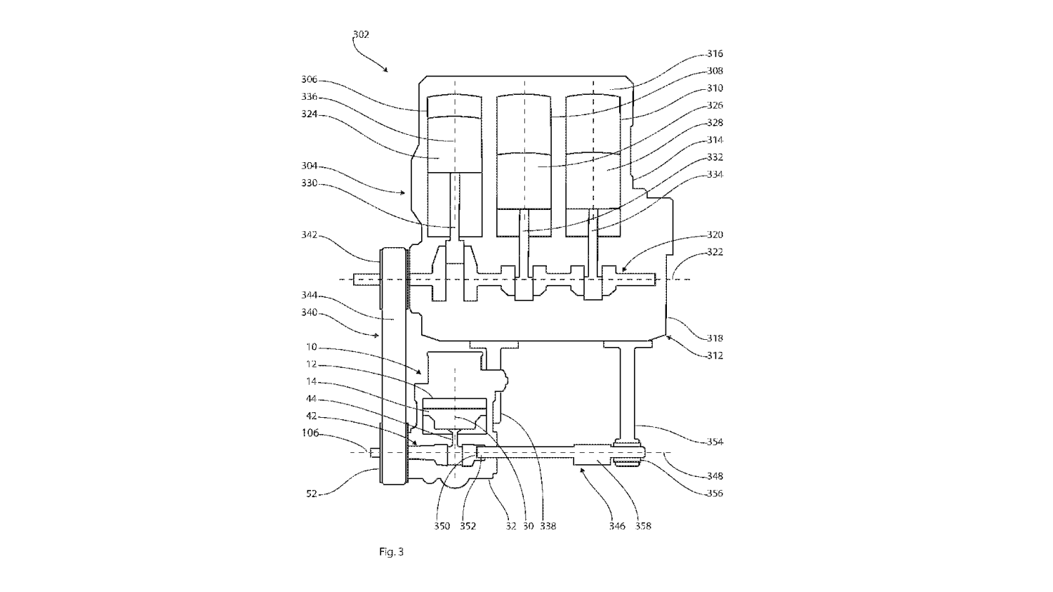
Remember the near-magical 600-horsepower 2.0-liter three-cylinder engine that Christian von Koenigsegg dreamed up to power the Gemera? It didn't make it to market, but two new patents show that the dream isn't dead. Instead, the company is working to make it even better, using a new compressor that can smooth out the odd-cylinder engine design while making something useful that it needs anyway. Finding Smoothness In An Unbalanced World Christian von Koenigsegg/WIPOCarBuzz has just found a patent called "Balancing of a Compressor-Engine Assembly." The patent, which lists Christian himself as the inventor, describes a specially built engine-powered air compressor that could also serve as engine balance shafts. It would be built off-balance on purpose, and that's just the start of the clever invention.Engines with odd numbers of cylinders, like Koenigsegg's Tiny Friendly Giant, are inherently unbalanced. With an even number of cylinders, one piston can always be at the top while the other is at the bottom, smoothing the engine's vibrations. Odd numbers can't do that.Máté Petrány/CarBuzz/Valnet For this to work, the compressor has to be solidly mounted to the engine, but that doesn't specify where. In the patent drawings, Koenigsegg shows it mounted to the top and bottom of the engine, but in both cases, it is driven by the crankshaft through a belt or chain. The two must be locked, though, so there is no clutch, and the engine and compressor pistons must both be pointed in the same direction.The piston in the compressor would be set up to hit bottom at the same time as the engine's number-one piston hits the opposite. That way, it works to balance out the vibrations from the engine just like a fourth cylinder would. The other two pistons can be sent to balance each other, ignoring the first.It sounds a lot like having a second person jumping on a bed to cancel out the bouncing of the first. In essence, that's exactly what is happening here. The difference with the engine is basically a lot of math to get everything perfectly imbalanced, so as to be in balance and perfectly timed. New Compressor Could Pressurize Planes Or The Engine Itself Freevalve Koenigsegg has designed a fancy compressor to go with it. The new compressor is variable, to produce the desired amount of air pressure and flow, but unlike normal air compressors, Koenigsegg can't turn it off or cycle the compressor, because then it wouldn't balance the engine.Instead, the compressor inlet gets a valve and actuator. It can cycle the valve to allow for zero air compression, a full cylinder's worth of compression, or none at all. It lets Koenigsegg idle the compressor without having to stop it spinning and losing the balancing effect.Why would Koenigsegg need compressed air anyway, though? One reason is the Tiny Friendly Giant's camless FreeValve technology. Instead of camshafts, it uses electro-pneumatic actuators. This would supply the pneumatics.Another possibility is in aircraft. Christian von Koenigsegg has hinted in the past that the engine's low weight and high power could make it ideal for aircraft with VTOL (vertical takeoff and landing) capability. High-flying airplanes need pressurized cabins, and planes with piston engines use air compressors to do it. Compressors just like this one.The patents might not make production, but they show one thing that we love to see: Koenigsegg is still working on making the TFG happen.Patent filings do not guarantee the use of such technology in future vehicles and are often used exclusively as a means of protecting intellectual property. Such a filing cannot be construed as confirmation of production intent.Source: WIPO