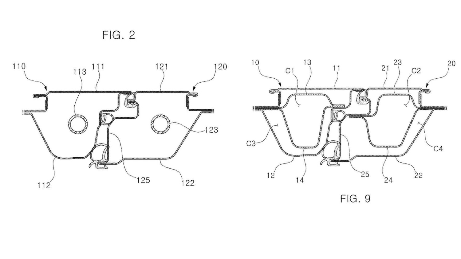
Where is the Genesis GV90 and its fancy center-opening coach doors? We've heard reports that the SUV has been delayed because the ultra-lux doors were posing problems the company was having trouble fixing. However, it's possible the brand has solved the engineering problem with the swanky design. Making Big Doors Isn't Easy CarBuzz/ValnetCarBuzzfound a patent, which was published by Hyundai Motor Group in mid-April 2026, called Vehicle Door Assembly with Improved Rigidity. Like the name suggests, the goal was to make a set of doors that wouldn't shake in their frames if they were joined in the center to each other instead of a central pillar.There is a reason you don't find many new vehicles with coach-opening or center-hinged doors, and it's that they're hard to make. Modern vehicles are so stiff and silent that any rattling or flexing is immediately obvious. The doors also have to be able to stand up to a heavy side impact without pushing in and crushing occupants or popping open.A normal SUV has a pillar in the center, holding everything together, instead of the roof and floor doing the work. It's cheap and it's easy, but it's not perceived as being luxurious. How does Genesis, or its parent company Hyundai, plan to fix it? With a new door assembly made to add structure where the pillar would have been.Hyundai/USPTO The secret is inside the opening-end of the door frame. Hyundai uses cutaway images to show the difference. In the existing door, Fig. 2 above, the strength comes from a metal tube that is installed in the void inside the door frame. In the new door, there isn't room for it.So instead of a simple cylinder, Hyundai has designed a sort of frame within a frame. There are extra metal panels (this could be steel, aluminum, or other materials) inside the void of the pillar that essentially create another pillar inside. So there is a boxed-in section inside the boxed-in section, as seen in Fig. 9 in the same image, as well as two sections where the front and rear doors overlap.The inner frame extends down below the floor so that in a crash it is pushed against the strong side sills. At the top, it can do the same against the roof. Stiffer doors mean a safer vehicle. Crucially for a luxury brand like Genesis, they make for a quieter vehicle too. The Doors Will Go In The Most Lux Genesis Yet CarBuzz Genesis has been developing the GV90 for years and has published multiple patents that focused on the doors. One of the biggest involved the latches, and how the doors would stay closed or be able to open independently. If you need to open the front to open the rear, there could be some safety issues. It's also much less luxurious and more like a 2002 extended-cab pickup in the early days of back-door trucks.Genesis first showed coach-opening doors on the Neolun Concept in 2024. The full-sized SUV was a preview of a new full-sized luxury flagship, which has since been unveiled in production form as the Genesis GV90.In January, we heard reports that Genesis was having problems that were delaying the new luxury model. It was supposed to launch this month, but has now been pushed back to the second half of the year. That report said that Genesis needed to give the driving assistance suite some more fine-tuning, but also that it was possible the fancy doors were being pushed back or canceled. We'll find out for sure in a few months.Patent filings do not guarantee the use of such technology in future vehicles and are often used exclusively as a means of protecting intellectual property. Such a filing cannot be construed as confirmation of production intent.Source: US Patent And Trademark Office