
Side-exit exhaust systems are rare features. They require unique packaging considerations and other compromises automakers just can’t make. They add weight and affect the aerodynamics, but Ferrari has filed a new patent that might solve some of those issues while improving safety.
According to Ferrari’s filing, its system “does not suffer from the drawbacks” of typical side-exit exhaust systems and “can be manufactured in a simple and economic fashion”
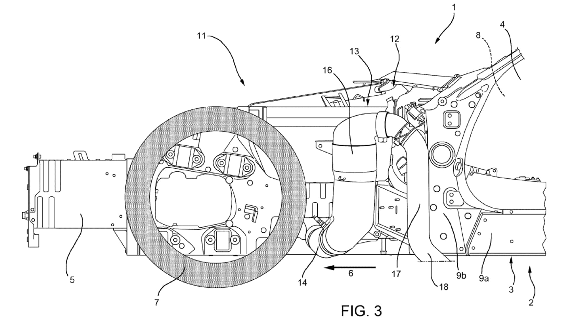
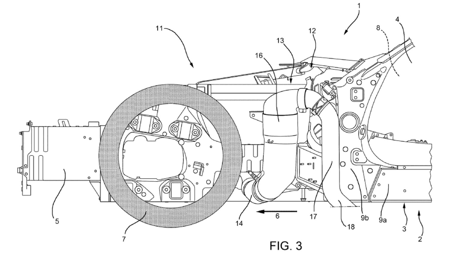
The drawings accompanying the patent show the exhaust system extending from the engine behind the front wheels without significant supports, and then up and around a member before extending underneath the front doors to the outlets behind the passenger compartment.
Ferrari says this design can “absorb at least part of the kinetic energy” from front-end crashes and “limit the front wheel getting close to the passenger compartment.” Ferrari claims the system also reduces weight because the exhaust avoids using auxiliary buffer struts or heavy support frames.

This isn’t Ferrari’s first side-exit exhaust patent. The automaker filed one in 2013 for an asymmetrical system that has an exit on just one side. This new filing isn’t like that—it’s for a tried-and-true dual system we hope we see on a future Ferrari at some point.
The company will have plenty of opportunities. Ferrari plans to launch 20 new cars in the next five years. Those won’t all be brand-new cars—and we expect some to be low-volume units. Ferrari’s CEO said it’s “better to have more models with limited volume than a few models with higher volume.”
Even if Ferrari does put the exhaust system on a production car, it’ll likely end up on one of its special, limited-production models. It’s the type of feature that looks cool but requires people to step over the hot pipes just to get in or out, which we think is totally worth it.
We want your opinion!
What would you like to see on Motor1.com?
Take our 3 minute survey.- The Motor1.com Team
Source: A Future Ferrari Could Feature Side-Exit Exhaust