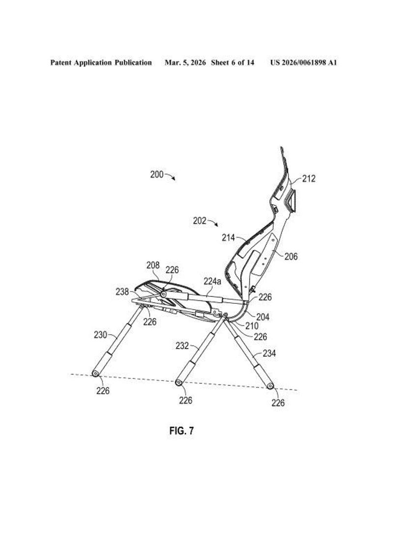
The Tesla Roadster has been coming "soon" for so long that when Elon Musk announced an April 1st reveal date, the internet couldn't decide if it was a joke or not. Given the car was first unveiled way back in 2017 with a price tag sitting around $200,000 and promises that have been delayed ever since, skepticism is fair. But a patent quietly published recently, discovered by a patent analyst on X, suggests things might actually be moving. And what it describes is genuinely unlike anything Tesla, or really anyone, has put in a production car before. One Frame to Rule Them AllTraditional car seats are an assembly of dozens of components, with metal brackets, recliner mechanisms, headrest stalks, and bolster frames, all bolted or riveted together. Tesla's new patent throws that entire approach out. The design is built around a single continuous composite frame where the seat base, backrest, headrest, and bolsters are all thermoformed as one unified piece. Tesla is calling it a monolithic structure, and it's the same philosophy behind their giga-casting push - fewer parts, fewer failure points, less weight, cleaner manufacturing. It's closer in concept to the carbon tub chassis you'd find at the core of a hypercar like a McLaren than anything you'd expect to find under a seat cushion. Smarter Than It LooksThe engineering goes well beyond just making it one piece. The frame is divided into up to six distinct stiffness zones, each tuned differently for ergonomics and structural support. Rather than a mechanical recliner, a built-in flexible hinge made from fiber composite material handles movement. Four pairs of actuators give the seat six degrees of freedom, and an ECU manages all of it through software, meaning the seat is essentially programmable. Ventilation channels are molded directly in. Airbag deployment paths are shaped into the bolsters. Even the soft trim attaches without separate hardware. All this goes to say that Tesla’s given this seat more thought than just bolting in a plastic poolside chair, a thought we're sure has entered the minds of many reading this. A Seat That Could Change How Cars Are BuiltThe implications go beyond just the Roadster. If this manufacturing approach scales, it could meaningfully simplify seat production across Tesla's entire lineup, cutting assembly complexity and weight in one move. For now though, it's one more sign that the Roadster is closer to reality than it has ever been. And if the April 1st reveal turns out to be no joke at all, this might just be the seat that takes you from 0 to 60 in under two seconds.