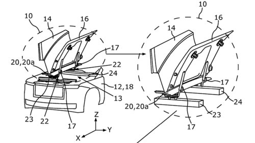
Rolls-Royce’s new electric crossover will have a split-opening hood. It features a central spine as well as two outer panels that lift up. SUV will likely mix BMW Neue Klasse tech with Spectre developments. Rolls-Royce is working on an electric crossover to battle the Bentley Barnato and spy photographers recently snapped a prototype undergoing testing in Munich. While that’s notable by itself, the model appears to have an old school split hood. Thanks to a beefy camera lens, we can see the ‘hood’ will have a central spine with a retractable spirit of ecstasy hood ornament at the front. On either side are two movable panels, which apparently lift up similar to a trunk lid. Rolls-Royce filed a patent for the idea in 2024 and it gives you a pretty good idea of what to expect. We can also see what appears to be a hinge at the front of the hood, although it looks like a drill attachment with a Phillips bit when you zoom in closer. SHProshots Forgotten tools aside, the crossover has a fully enclosed grille with a top-mounted camera. It’s flanked by split lighting units including lower headlights with “RR” badging. The model also sports a wide lower intake with horizontal bars. The rest of the design is far more conventional and closely echoes the current Cullinan. As a result, there’s a strong shoulder line and slab-sided bodywork. They’re joined by a familiar greenhouse, a relatively flat roof, and a thick rear pillar. The déjà vu design continues out back, but the EV has a unique bumper that lacks exhaust cut outs. The bumper also houses the license plate recess, which is a change as it’s mounted to the liftgate on the Cullinan. These similarities originally had us believing the model was the second-generation Cullinan. However, there’s been some speculation that the two crossovers could co-exist alongside each other – at least initially. SHProshots While there are more questions than answers at this point, the model will undoubtedly follow in the footsteps of the Spectre. The coupe sports a 102 kWh battery pack as well as a dual-motor all-wheel drive system developing 577 hp (430kW / 584 PS) and 664 lb-ft (900Nm) of torque. This enables the model to accelerate from 0-60 mph (0-96 km/h) in 4.4 seconds and have a WLTP range of 329 miles (530 km). There could also be a more powerful Black Badge variant with 650 hp (485 kW / 659 PS) and 793 lb-ft (1,075 Nm) of torque. That being said, the crossover could benefit from newer technologies like the facelifted 7-Series. BMW recently announced the flagship sedan is getting their Gen6 eDrive technology and this will include a cylindrical cell lithium-ion battery with a 20% higher energy density. We can also expect the model to incorporate some other Neue Klasse advancements. SHProshots