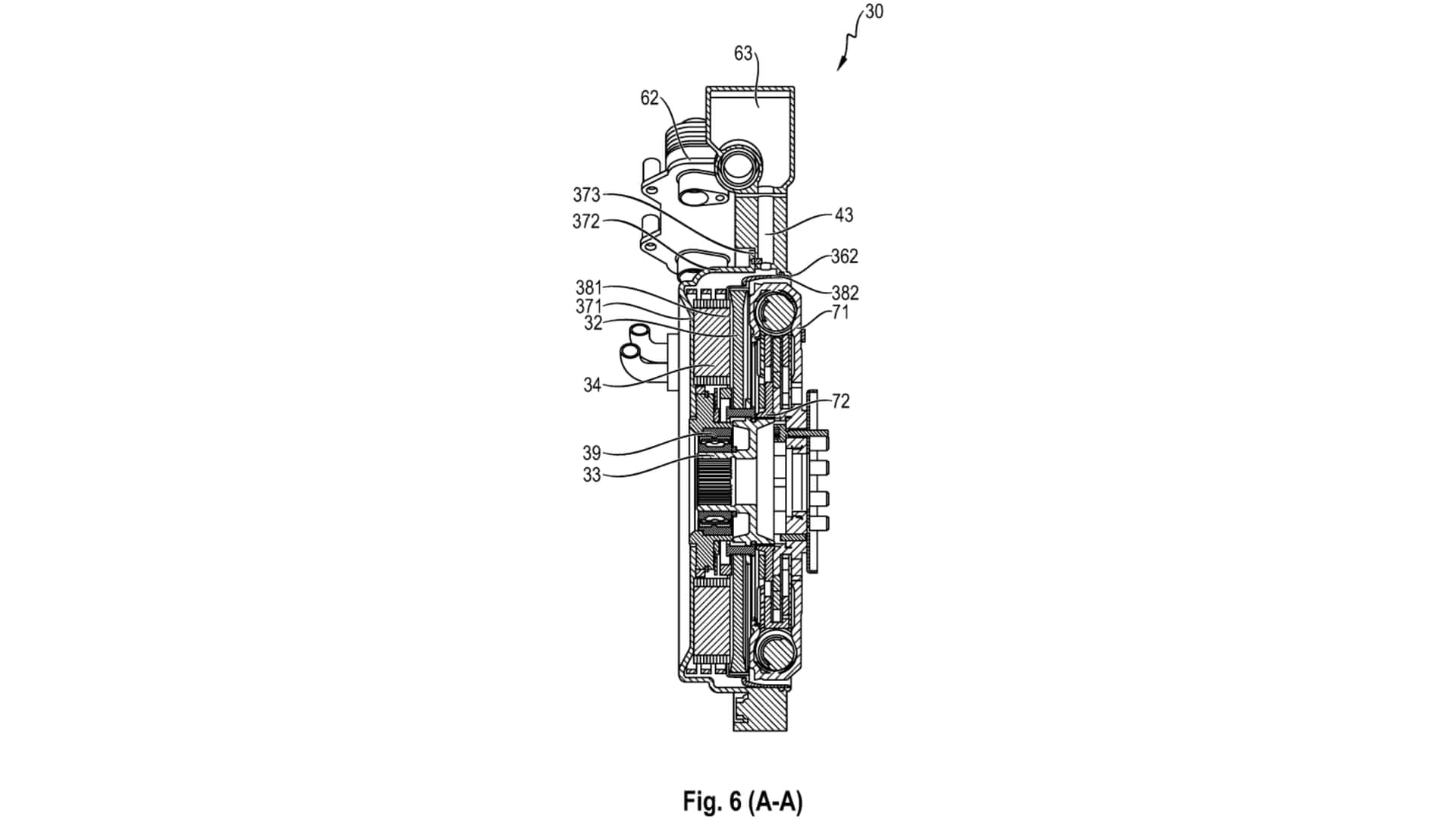
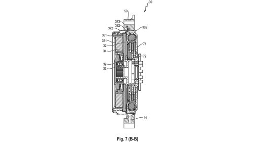
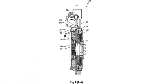
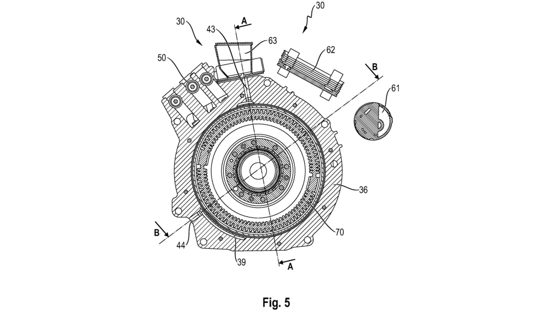
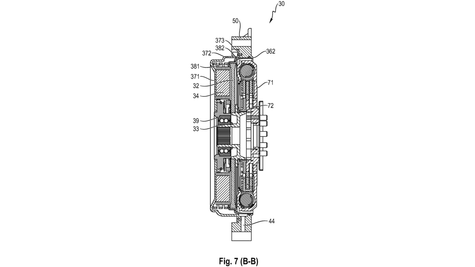
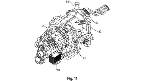
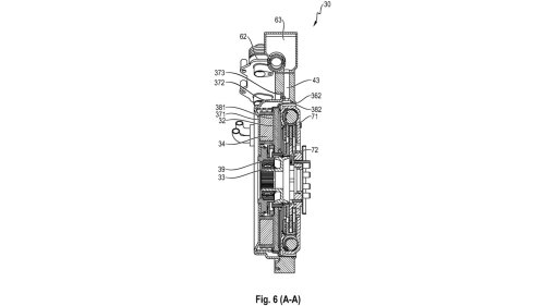
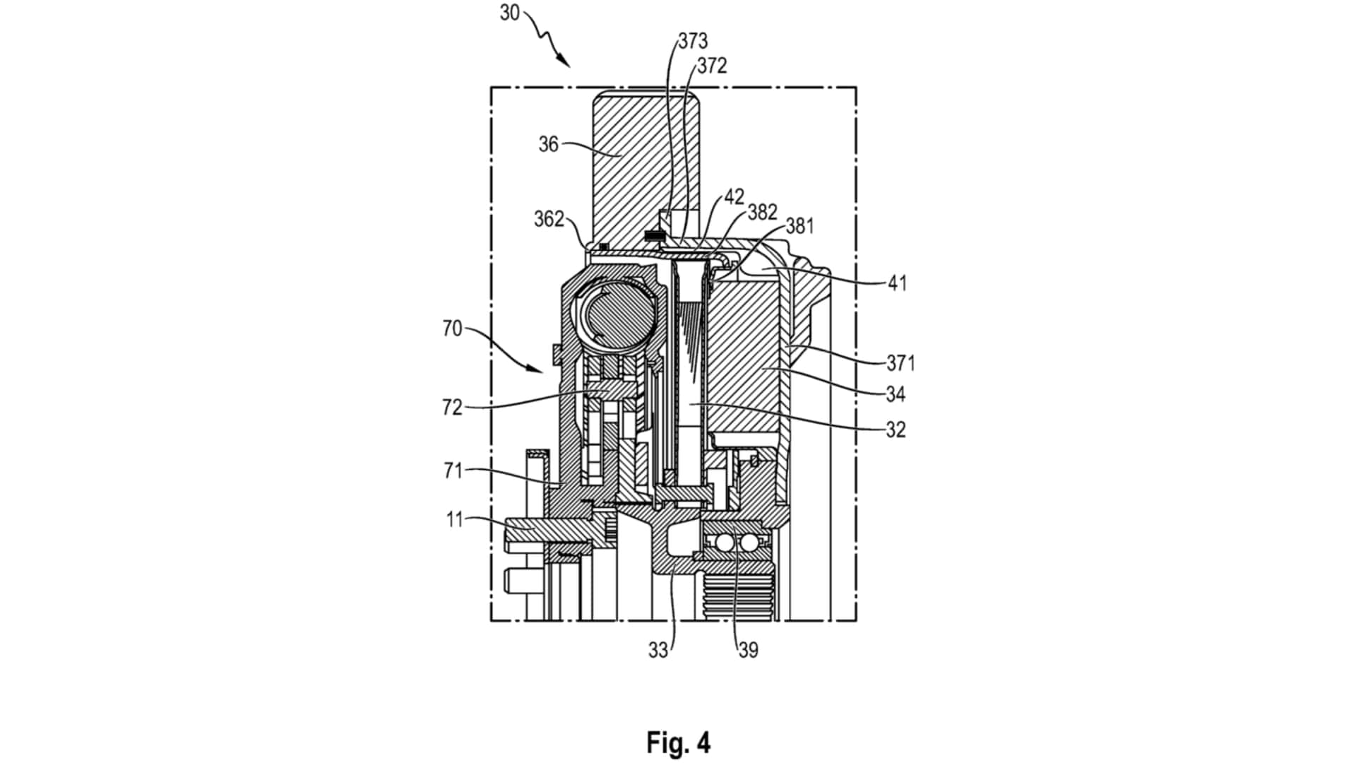
Axial flux motors are still a fledgling technology, but they’re quickly becoming the go-to choice for some high-performance hybrid systems. Thanks to their minimal weight, compact design, and impressive power outputs, companies like Ferrari and Lamborghini have already integrated them into some of their latest road cars. Porsche could be next. According to a patent uncovered by CarBuzz and filed with the World Intellectual Property Organization (WIPO), the company is developing a hybrid powertrain that pairs smaller, lighter axial-flux motors from supplier Yasa with a combustion engine. While the patent covers use in any passenger car, it specifically mentions applications "for a sports car." The concept seems pretty simple on the surface. Instead of fitting a comparatively bulky radial flux (conventional) motor into the PDK gearbox housing—as Porsche currently does with the 911 Carrera GTS—the thin, disk-shaped axial flux motor would sit between the engine and transmission, neatly positioned within the dual-mass flywheel assembly. The electric motor and combustion engine would work together through a dual-clutch gearbox. Thanks to the motor’s ultra-thin design—as thin as 3.1 inches in some current applications—it wouldn’t add much length to the overall powertrain. That means the engine and e-motor should remain behind the driver without any significant compromise. Photos by: WIPO The patent specifies that the system would accommodate either a mid-mounted or rear-mounted engine. The engine would need to be mounted longitudinally, paired with a transverse dual-clutch transmission. There’s no indication as to whether this setup could work with a manual gearbox—but one can hope. By design, the configuration is also said to generate less heat. When coupled with a "cup- or bell-shaped" permeable chamber, as described in the patent, both the electric motor and combustion engine should receive ample cooling. The big question is: How much power could this hybrid system actually produce? As we know, Yasa’s compact motors make a ton of torque; the company boasts upwards of 470 horsepower and 590 pound-feet of torque in its single most powerful setups. The hybrid Ferrari SF90 uses three Yasa motors for a combined 217 hp, while the two motors in the Lamborghini Revuelto generate just under 296 hp. But both of those systems are paired with powerful V-8 and V-12 engines, with each car making just over 1,000 hp. If Porsche uses this technology in a future road car, the results could be—for lack of a better word—ridiculous. The current electric motor in the 911 Carrera GTS produces roughly 54 hp and 110 lb-ft of torque on its own, translating to a total system output of 532 hp and 449 lb-ft when paired with the flat-six engine. Assuming Porsche pairs the new axial-flux motor with a version of its turbocharged 3.6-liter engine—which seems likely—the combined output could potentially exceed 800 or 900 horsepower, depending on the application. That level of power would fit naturally in something like GT2, GT3, or even a rumored hypercar (wink, wink). Of course, there are still so many variables at play here; trying to predict exactly what this setup will look like or how much power it could actually yield in a road car is just guessing at this point. That said, the potential alone is undeniably exciting. We want your opinion! What would you like to see on Motor1.com? Take our 3 minute survey. - The Motor1.com Team