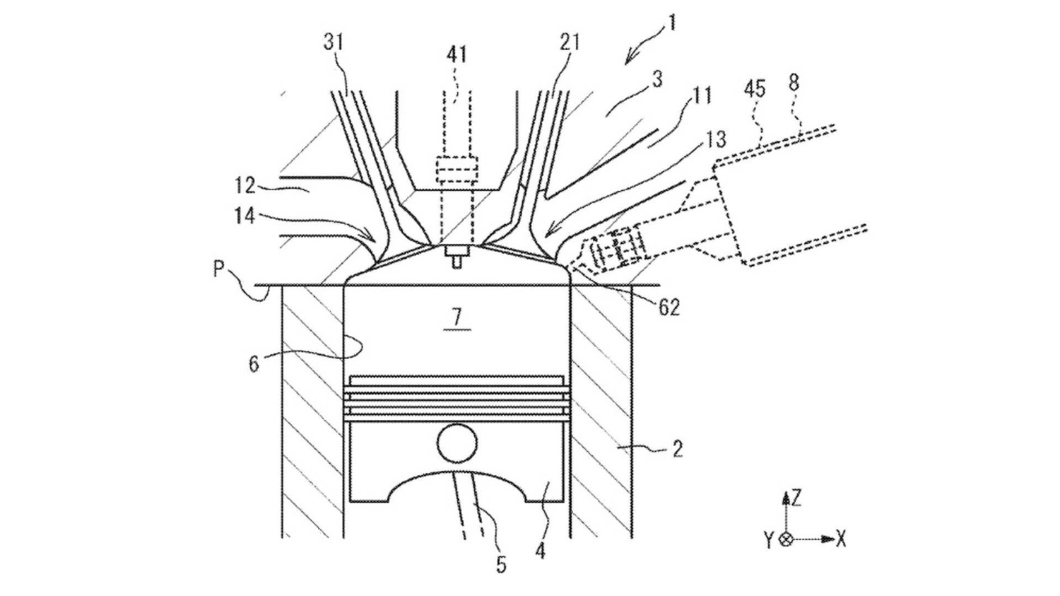
How serious is Toyota about building a hydrogen combustion engine? CarBuzz has just found a patent for the engine design filed in the United States instead of at home. It shows some of the differences between gas and hydrogen engines, and what Toyota has to do to make the idea work. Patent Solves A Slippery Situation Toyota Toyota's patent drawings show a cylinder that looks a lot like what you'd find in any gasoline internal combustion engine. There is a piston that moves up and down, there are four valves split between intake and exhaust, and there is a spark plug. Like any direct injection engine, there is a fuel injector. The patent focuses on the injector and how Toyota gets it in there.The hydrogen injector looks a lot like any gasoline direct injection nozzle, but unlike those, the H2 injector doesn't stick out into the combustion chamber. Instead, it forces the H2 as a gas through a small hole in the cylinder head. Toyota is relying on the H2 gas mixing with air, so it doesn't have fine spray tips in the combustion chamber like a gas engine.Toyota / US Patent & Trademark OfficeKeeping the hydrogen and the combustion pressures inside takes serious sealing, so Toyota has multiple gaskets and o-rings to keep everything inside. Those seals need a lubricant for insertion, and that lubricant has been a problem. The patent describes Toyota's fix.Most lubricants are flammable, especially if they're in an engine. In the patent, Toyota says that ignition can happen with every injection, which is bad. It can cause pre-ignition, which can destroy the engine or the injector.In the patent, Toyota suggests using polydimethylsiloxane. That's a silicone polymer that is used in a huge range of everyday items, from contact lenses to foods. It's non-toxic, non-flammable, and would work well in this application. At high temperatures, it flows like honey, but at lower temperatures it's more like a solid. Perfect for use for inserting an injector. It's also commonly used as an industrial lubricant as well as in the vast majority of, well, latex prophylactics. Toyota Won't Stop Until It Makes H2 Happen Toyota Gazoo Racing Toyota has been all-in on hydrogen as an alternative fuel source for decades now. It started, like many other automakers including GM and Hyundai, with using the fuel to create electricity in a fuel cell. Since then, Toyota has made multiple attempts to burn hydrogen directly in a combustion engine. To use it to replace gasoline.Because hydrogen doesn't have any carbon attached to it, when you burn it in air, the result is water. There is no CO2 in the process. It does, however, produce NOx, which is still a serious air pollution concern. Toyota has been working on lowering combustion temperatures, which lowers NOx emissions but can also lower efficiency. If the hydrogen comes from clean energy in the first place, then efficiency is less of a concern than emissions.Hydrogen combustion might still be a decade away, but Toyota continues to test it. The Japanese automaker has used H2-burning vehicles in the Fuji 24 Hours endurance race. It also plans to take one to Le Mans in 2028.Patent filings do not guarantee the use of such technology in future vehicles and are often used exclusively as a means of protecting intellectual property. Such a filing cannot be construed as confirmation of production intent.Source: USPTO