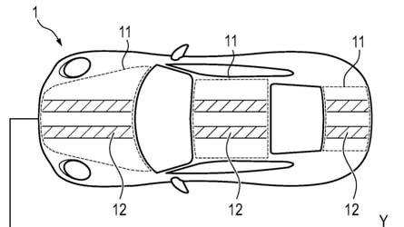
THE BREAKDOWN: Porsche has filed a new patent for racing stripes that can appear and disappear. The patent describes an exterior film that can be applied to the car's exterior and changes when an electrical voltage is applied. Porsche describes using the technology to indicate the car’s drive mode or charge status. Porsche has filed a new patent for hidden racing stripes. The technology uses a film material, which the automaker describes as electronic paper or a paramagnetic coating, on the vehicle’s exterior that changes color when an electric voltage is applied. The patent showcases several ways Porsche could use the technology, the most notable being for disappearing racing stripes. According to the German filing, the stripes could change color depending on the vehicle’s drive mode, like green for eco or red for sport—or they could completely disappear at the click of a button. The images also show using the film for stripes behind the rear wheels and on the rear diffuser. The patent also describes using the technology on an electric vehicle to display the car’s charge status right on the exterior. It’s a neat technology, but not a novel one. Automakers already use electrochromic glass that changes opacity with changes in electrical current. This just takes the technology one step further. Motor1’s Take: Color-changing cars aren’t a new concept. BMW introduced the i Vision Dee concept with an E Ink exterior a few years ago, which allowed the car to wear 32 different colors. Porsche’s patent showcases how an automaker could use color-changing exteriors in innovative and useful ways, going beyond pure aesthetics. Tell us what you think! View Comments We want your opinion! What would you like to see on Motor1.com? Take our 3 minute survey. - The Motor1.com Team