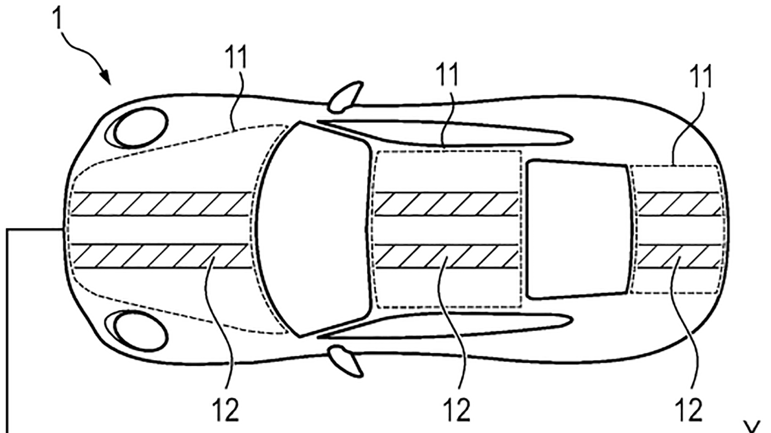
It's normal for animals to put on a show to try to impress a mate. Peacocks are the best known because of their iridescent tail feathers, but thousands of birds, fish, and even spiders will peacock when the time comes. Add Porsche to that list, because CarBuzz has just uncovered a patent for a car that can change from solid to stripes when you turn it to sport mode.Seriously? Yeah, seriously. Stripes On Demand Porsche/DMPA The patent calls it a "motor vehicle with a vehicle body featuring an actively controllable, optically changeable coating." We call it stripes on demand.A car that can change its paint color isn't entirely new. BMW has shown a few concept cars that use e-ink technology in the body panels. Audi has patented a special film that sits on top of the paint and allows color changes.Porsche/DMPA Even Porsche already has patents for tech like this. It used what are called paramagnetic lacquers that change color with electric voltage and imagined using cameras in the car to replicate its surroundings like a chameleon.This patent proposes not new technologies, but a new way of using them. Porsche wants the vehicle to use its color changes to help "make properties and/or states of the motor vehicle recognizable to outside observers."For example, the paint could show bystanders what drive mode the vehicle is in. Porsche probably meant something like an indicator that it is in autonomous vehicle mode, but we're imagining that it could be used for any drive mode.By default, the car could have stripes of one of multiple colors, or no stripes at all. Toggle Eco, and you could get light green stripes. Wet mode could be blue. Push the button for Sport+, and maybe the stripes turn red or some other color that lets everyone know you're going fast, or at least wishing you were going fast. Practical Possibilities, Not Just Show-Offs Porsche Porsche also suggests it could be used to show the charge level on an EV. Forget boring dashboard LEDs, imagine if whole panels of your car went from red to green to show you were fully charged. The company says this is great for customers with multiple vehicles, so they can know at a glance the status of each car.This could be used on race cars as well, so anyone in the stands can see the charge remaining in a Formula 1 car or endurance racing hybrid model. Or on the Autobahn, so vehicles can see just how quickly the car behind them is closing in.The idea is to use a film that can change its color characteristics. Porsche says that this is cost-effective to make and replace, and very flexible in where it can be installed.It just might make things tough for owners who are breaking the law. Imagine getting pulled over by an officer who says, "I stopped you because those stripes were red." The easy fix for that would be the same one Porsche applies to its active aero wings and spoilers, which is a button that lets you deploy them at any speed and not just when going fast.So with this patent, you could turn on your Sport+ stripes when you're sitting in a parking lot, showing off. And there we are, coming around full circle to preening for a mate.Patent filings do not guarantee the use of such technology in future vehicles and are often used exclusively as a means of protecting intellectual property. Such a filing cannot be construed as confirmation of production intent.Source: DPMA