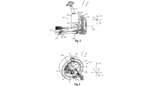
Before you panic, the next Porsche 911 will not have suspension stolen from an Amish buggy. Leaf springs are robust technology known for their simple design and durability, mainly found underpinning older pickups, vans, and even trains. So why is Porsche of all companies looking into this technology for its cars? Stellantis used this suspension more recently in Ram Trucks, but never in a sedan or crossover like it’s planning to.Granted, the filing of a patent does not always reflect what might be coming down the pipeline for companies, but it gives us great amusement at thinking about what a 911 GT3 with truck suspension looks like. In order for us to understand why Porsche and Stellantis might look into employing this technology in its newer vehicles, we first need to understand the different applications of leaf springs. Then, we’ll find out why tapping into the old suspension set up isn’t such a bad idea after all. Porsche And Stellantis' Recent Patents Porsche/EUIPOPatents filed by both companies revealed their intentions to research new ways of incorporating the compact design and cost savings of leaf spring suspension. Porsche wants to utilize the suspension’s capabilities of different mounting points than traditional coil over suspension, whereas Stellantis wishes to put a new leaf spring set up in its cars for cost savings. Before you go thinking this technology doesn’t belong in modern cars, let alone high-performance vehicles, both the Volvo XC90 and Chevrolet Corvette utilized transverse-mounted leaf springs rather than conventional coil-over suspension that its competitors utilized.Porsche/EUIPOPorsche’s filings reveal a new take on the old thinking. In three separate patent filings with the European Union Intellectual Property Office (EUIPO), it revealed a system that places electric motors inside the wheel assembly, changes the mounting points on the body and wheel, and has easier adjustment and tuning capabilities. While it seems the entire system is dependent on an in-wheel electric motor, something Porsche has been developing for a while, it could still be utilized in a car with a conventional powertrain layout. It doesn't seem like a conventional leaf spring, nor is it a transverse leaf spring.Stellantis, on the other hand, might be looking into the past for different reasons. Leaf springs are robust, but they are quite stiff. This made them perfect for utility vehicles like heavy-duty pickups and vans, not so much for passenger cars that need better road manners. Since the XC90 and the Corvette are examples of great handling cars that utilize this technology, what’s the problem? They used transversely-mounted leaf springs that ran across the underside of the car, connecting the two sides, whereas trucks put them parallel to the wheel. The patent Stellantis filed in Europe is for leaf spring mounts that would make the system more comfortable in smaller cars while still being placed on the car the same way as before. New Ideas, Old Technology: Will It Work? StellantisBecause the mounting points for leaf springs don’t need to be as high up on the body, designers have more flexibility with the overall shape of the car if a leaf spring-type suspension is utilized. The system doesn’t require upper and lower control arms, saving vertical space. This translates as a different shape around the fender, something Porsche says could even help with pedestrian safety while also increasing handling with a better scrub radius. As for Stellantis’ plan to put traditional leaf springs at the back of its smaller cars, the patent for new mounts will certainly make them more comfortable as they allow for more movement than old designs and cushion the ride better.Less suspension pieces also drives down the overall cost to build the car. In Porsche’s design, this won’t be the case since it wants to use leaf spring technology to alter suspension geometry. But Stellantis might benefit from the added cost savings since it’s trying to make the traditional design work in its cars. It is cheap to produce just as it’s cheap to maintain. The added bushings, which is what the patent was filed for, are simple enough in design to not raise too many eyebrows. It also allows for more travel in a leaf spring set up, something that has kept other companies from using leaf springs in passenger cars.StellantisSince patent filings aren’t the crystal ball which lets us see into the future of design and engineering, it’s hard to tell if these systems will be employed. It just means the two have dedicated groups working on these ideas. If they bear any fruit, it’s very possible we’ll see more patents filed before we see them hit the streets. For a better example of older leaf spring technology making its way back into passenger cars, let’s look at what Volvo did. Volvo's Composite Transverse Leaf Spring VolvoIn the XC90, double wishbone suspension is used up front for better front-end grip, while a multilink and transverse leaf spring suspension unit sits at the back and keeps things compact and light. The composite leaf spring runs through the subframe and connects both wheel assemblies, canceling the need for coil springs and an additional anti-roll bar. Fewer parts mean less weight, especially when it’s made from glass-fiber reinforced polyurethane like the leaf spring is. Chances are, your car doesn't employ this type of suspension, so it's certainly interesting to see it used in new cars.Traditional leaf springs in trucks are made from high-strength steel and are layered for better weight distribution and strength. They also have less travel since they act as the main suspension piece, rather than used as a component to replace a handful of other pieces in the suspension. Why Leaf Springs Are Used In Trucks StellantisLeaf springs are mainly found in pickups and other trucks for their heavy-duty construction and simple design. They’re strong enough to be found on trains and compact enough to work on a half-ton pickup. Most new trucks use coil suspension now, but the utilization of leaf springs helped the suspension system from intruding into the bed as well as serving as a strong rear suspension system. Since most of the weight might be over the rear axle, the front suspension could remain coil overs.These are easily tunable, too. Adding extra strips of steel or “leaves” increases the load capacity of the suspension system. The issue with using leaf springs being used on smaller cars are its limitations of vertical travel. Comfortable suspension moves up and down further than a leaf spring allows, which might not be super comfortable in lighter cars. Are Porsche And Stellantis On The Right Track? StellantisSince neither have any further intentions of applying their patents on production cars just yet, it’s an interesting pet project that warrants some praise for its take on older technology. Both recognize the benefits of a leaf spring set up but also know how to fix what makes them unsuitable for light-duty passenger and sports cars.Stellantis seems to find the cost savings appealing, especially with its smaller European hatchbacks, and Porsche likes the idea of a more compact design that gives designers greater freedom to pen new silhouettes for the brand. It is doubtful that Stellantis’ patent will influence its American brands and the vehicles we’re most likely to see leaf springs on. However, if more global vehicles are slated to come to the US market, we just might see them show up there.PorschePorsche, from what we can tell, won’t be using its leaf spring components in cars that don’t have hub motors. Since leaf springs translate to a heftier load, Porsche is using them for the extra unsprung weight the wheel-mounted electric motors would add. Together, the two companies are making an old design work for their respective applications and pushing the boundaries of what futuristic suspension looks like.Sources: EUIPO, INPI, Volvo