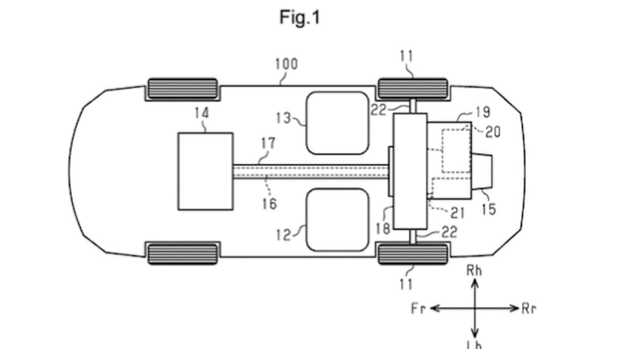
Paten teknologi hybrid punya Toyota Toyota terus menunjukkan keseriusannya dalam mengembangkan teknologi kendaraan elektrifikasi, khususnya pada segmen hybrid yang kini menjadi tulang punggung penjualan mereka di berbagai pasar global. Setelah hampir seluruh model Toyota memiliki varian hybrid dan mencatat kinerja positif sepanjang 2024, pabrikan asal Jepang tersebut kini mulai berfokus ke aspek lain yang tak kalah penting yakni pengalaman berkendara.Langkah ini terlihat melalui paten terbaru yang didaftarkan Toyota pada Juni 2025 dan dipublikasikan oleh United States Patent and Trademark Office (USPTO) pada 1 Januari 2026. Paten dengan judul “Hybrid Electric Vehicle” tersebut menjelaskan konsep penataan ulang komponen hybrid yang bertujuan meningkatkan stabilitas kendaraan, keselamatan struktur, serta performa akselerasi, terutama pada mobil berpenggerak roda belakang.Berbeda dari inovasi yang menyentuh teknologi mesin atau motor listrik, konsep ini berfokus pada pengaturan posisi komponen utama. Mesin tetap berada di bagian depan kendaraan, sementara poros penggerak berada di tengah, terhubung ke sistem transaxle belakang yang menampung motor listrik, transmisi, dan diferensial. Perubahan signifikan justru terjadi pada posisi baterai dan tangki bahan bakar. Toyota memindahkan tangki bahan bakar lebih ke tengah kendaraan, mendekati pusat gravitasi, sementara baterai utama diletakkan tepat di atas transaxle belakang. Dengan penataan ini, perubahan bobot kendaraan saat bahan bakar berkurang akan terjadi di area yang lebih terkendali, sehingga kestabilan pengendaraan tetap terjaga.Selain itu, posisi baterai yang berada di depan tangki bahan bakar dinilai memberi lapisan perlindungan tambahan jika terjadi benturan dari belakang. Penempatan baterai yang memiliki bobot besar di atas gardan belakang juga diyakini mampu meningkatkan traksi dan respons akselerasi.Meski tidak disebutkan akan digunakan pada model tertentu, konsep ini dinilai cocok untuk sedan Toyota maupun Lexus yang mengedepankan kenyamanan, pengendaraan presisi, dan karakter premium. Namun seperti halnya banyak paten otomotif lainnya, belum ada jaminan teknologi ini akan langsung masuk ke lini produksi.Kendati demikian, gagasan ini menunjukkan arah pengembangan Toyota yang tidak hanya mengejar efisiensi bahan bakar, tetapi juga ingin meningkatkan kualitas berkendara.