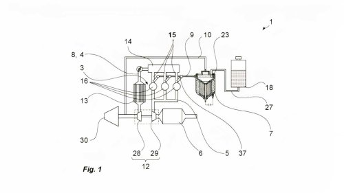
Who knew that Porsche would be the one to cook up the solution to hydrogen-powered cars? Decades of using the same shape and engine layout must have really paid dividends in saving time to work on other projects for the brand, which is how we got the original Audi RS2 Avant and Mercedes-Benz 500 E.As far as in-house skunkworks go, this new feat by the brand is definitely up there with the greats like the 959 and Carrera GT. But its impact isn’t on balls-to-the-walls performance, rather, it’s all about fuel efficiency in the coolest way possible. Think the 911 couldn’t get nerdier? Just you wait. Porsche's Hydrogen Combustion Engine PorscheWe caught wind earlier this week of Porsche’s patent it filed with the German Patent and Trade Mark Office (DPMA), discovering the brand’s intent on building an engine capable of running on both gasoline and diesel, as well as hydrogen. The patent also describes the engine as being able to create its own hydrogen fuel, which promptly blew our minds.In short, Porsche wants to solve a key issue with internal combustion engines by heating the catalytic converter to its optimal temperature well before others, increasing maximum efficiency at an earlier point. The cats don’t work too well at cleaning the exhaust gases at ambient temperatures and won’t reach peak efficiency until they’re at higher temps. Porsche’s new system of creating hydrogen fuel to help boost efficiency and heat the catalytic converter is a new way of utilizing the volatile substance to power automobiles. Types Of Hydrogen Powertrains ToyotaUnlike the system Porsche is thinking of implementing, which is just using hydrogen to heat the catalytic converter in combustion engines, other cars have been released that actually use the stuff as fuel. The most famous of which is the Toyota Mirai, which is known as a hydrogen fuel-cell vehicle. This involves using hydrogen to produce electricity, but other hydrogen-powered cars might employ a hydrogen combustion engine. The difference between the two is that fuel-cell powertrains convert hydrogen to electricity, whereas hydrogen combustion burns the fuel like gasoline and makes all the right noises, too. Hydrogen Fuel-Cell Vehicles The tricky part about fuel cells is finding hydrogen stations to refuel them. Hence, why the Toyota Mirai and company are only offered in California for the US market, and only a handful of other countries. They take hydrogen gas and mix it with oxygen to create electricity, which powers the electric motors that drive the wheels. In case you think storing hydrogen is, how would you say, explosive, you would be correct. But so is gasoline, so what’s to be afraid of? At one point, rumors had surfaced that Toyota was taking the Mirai’s hydrogen tanks out to the middle of its proving grounds and shooting them with automatic weapons to ensure they wouldn’t explode. Point is, these tanks need to be pretty darn tough if they’re going to be out on the road no matter how the fuel is used. Hydrogen-Combustion Engines Stored in the same bulletproof canisters in all cars, how it’s used is quite different depending on the motor turning the wheels. Hydrogen-combustion engines work the same way as gasoline engines. The fuel is mixed with oxygen, ignited, and exhausted. The byproduct of this fuel is mostly water compared to a gasoline or diesel engine which burns carbon-based fuels and emit carbon dioxide from the tailpipe. These engines are making their way into semi trucks as engineers work to squeeze every bit of efficiency out of the engine we all love before it’s outlawed somewhere down the line. Porsche's Patent Is Far Simpler DPMAThe company’s patent does not claim the new technology is to help combustion engines run exclusively on hydrogen; rather, the system helps boost efficiency of gasoline and diesel engines that use catalytic converters. The system would make its own hydrogen using the water from…any guesses? If you said the windscreen washer reservoir, you win the prize! It would draw water from the bottle and convert it to hydrogen after using one of the cylinders to combust it and heat the exhaust system faster.This technology might extend the life of the engines as it diminishes the strain on components that need to reach higher temps to achieve peak performance and efficiency. The best part, we think, is that this hydrogen system doesn’t require the storage of hydrogen in the car whatsoever. Pulling water from a source and creating hydrogen as it's needed takes away the need of a tank needing to be separately refueled with the element. Since the washer fluid reservoir is where it’s picking up its water, we’ll have to wait and see how much drains out before it becomes a real issue—specifically for the drivers whose cars have become rest-stops for birds.Where it gets better for Porsche is it now has the ability to manufacture one of the cleanest-burning combustion engines with this new hydrogen system combined with its synthetic fuels, Porsche’s other effort to save its precious flat-six. Porsche eFuel PorscheEarlier in the decade, Porsche announced it was investing heavily in synesthetic fuels for use in production cars. Determined to produce the fuel in the cleanest way possible, Porsche set up shop in Punta Arenas, Chile, to cook its carbon-neutral synthetic gasoline. Along with its cohorts in the project, Siemens Energy and ExxonMobil, the plant makes “eFuel” by borrowing carbon from the atmosphere and taking hydrogen from water to create a fuel that burns cleaner than gasoline, emitting only the carbon used to create it.Synthetic fuel is popular in motorsports, and currently this fuel already has a presence in most, if not all, of Porsche’s race cars. They even brimmed the tank of a Dakar-inspired 911 that climbed a volcano in Chile with the stuff, proving it’s not lacking any sort of quality to perform at its best. It’s also expensive. Porsche CEO Oliver Blume’s estimate of $7.57 a gallon if it became an option at the pump was conservative at best, but in the future if it becomes more widespread, it's highly possible. So, Why Isn’t Hydrogen The Future? In short, it could still be one day. Hydrogen combustion engines are more efficient than gasoline ICE powertrains and fuel cell vehicles work just as well as traditional electric cars. However, the infrastructure around fueling and storage is the main issue. It’s expensive, both to purchase and to store safely, and gas stations can’t just convert pumps to dispense it. While builders of semi-trucks have been tooling around with the idea of producing hydrogen combustion engines en masse, it’s not something that will take over quickly due to storage costs and complexity of development.Aside from the added benefits of hydrogen, it burns far quicker than gasoline or diesel, which means trucks would have to stop more frequently, delaying shipping times and causing other inconveniences throughout the chain of logistics. As for use in passenger cars, the question revolves mainly around fueling. Hydrogen is a gas, so it’s measured in weight and not volume like liquid fuels. The current Toyota Mirai has a tank capacity of 5.6 kilograms, and to fill it up at a station in Fountain Valley, California, where the current cost per kilogram is $25.99, would total out to $145.54.Current disruptions in the supply of California’s stations are being felt by owners, with a considerable number of stations across the state are either offline or in unknown condition by the California Fuel Cell Partnership. According to the US Department of Energy, there are 54 public fueling stations across the country, roughly 0.03% of total fueling stations.If anyone is going to work their hardest to preserve the sacred simplicity we derive from the hum of an internal combustion engine, it’s going to be the engineers at Porsche. We know they’re not finished perfecting the glorious flat-sixes we adore, and we’ll be fighting alongside them until the very end, no matter what cocktail of elements is fueling their combustion engines.