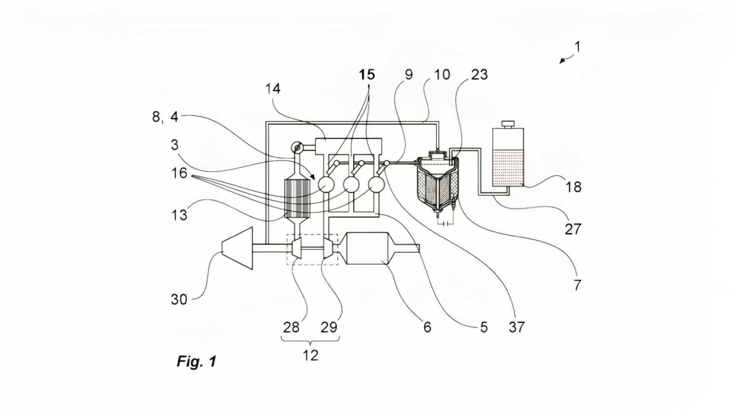
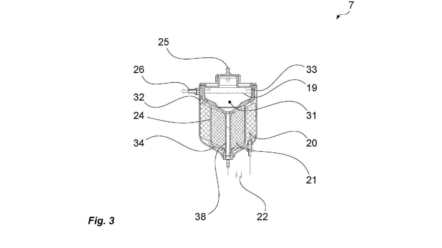
Some automakers investing in combustion have touted hydrogen as the future, while others, like Porsche, insist synthetic fuel is the way to go. But Porsche's just gone and flipped the script by patenting a combustion engine that can run on either gasoline, diesel, or hydrogen, and arguably more importantly, can make its own hydrogen fuel.If the concept sounds wild, it's because it is, but what's also interesting is that Porsche has absolutely no plans to run said engine on hydrogen entirely. Not ever. So what's the deal? In the patent filed with the German Patent and Trade Mark Office (DPMA), discovered by CarBuzz, Porsche details how a self-fueling hydrogen combustion system can save combustion by reducing its old enemy: startup emissions.And perhaps the wildest element of the filing is that the system will use the windshield washer reservoir as the source for this hydrogen. Turning Windshield Water Fluid Into Combustible Fuel DPMA Essentially, the problem Porsche seeks to solve here is that catalytic converters don't reach full efficiency until they are hot, and hydrogen would be a way to pre-heat and then heat while driving.To do this, Porsche would need a hydrogen generator in the car, which would take in water and convert it into a usable gas. This is not a new idea, as there are kits to add hydrogen to a car's system (claimed) to improve fuel economy by helping achieve full combustion in the chambers under low torque conditions.However, Porsche's spin appears to be pushing it straight into the engine and using at least a single cylinder to get the job done. The job is to heat the catalytic converter to optimum temperature with particularly hot exhaust gas. Porsche specifically mentions a "Hoffmann electrolysis apparatus," which is one of the simplest ways available to generate the electrolysis of water into hydrogen and dates back to 1866.DPMA Porsche even goes so far as to mention the idea of a Hydrogen Mode controlled by the car to predict when the car will be started or start the car in that mode. The patent is also explicit about having the hydrogen inlet downstream of a turbocharger and using a cylinder-specific inlet to avoid "undesired inflammation."That's a lot of complex legalese that essentially boils down to storing stable water instead of potentially volatile hydrogen, converting it to hydrogen gas as needed, and injecting it into the cylinder directly to ensure it doesn't go boom in the intake manifold. Hydrogen, while combustible, is not necessarily an ideal fuel source for a combustion engine, and is prone to early detonation. No More Washer Fluid DPMA Rather than using a separate container for the water needed for electrolysis into hydrogen, Porsche is proposing using the windshield washer tank. The obvious issue there is that a lot of people use washer fluid, and in places that experience freezing conditions it can be necessary to stop the windscreen washer fluid from, well, freezing. Porsche does not mention heated windscreen washers, so hopefully we've been of help here. But, it does give us an idea of how little hydrogen might be needed to have the desired effect.This is not something we would expect from Porsche, but it does make sense when it comes to eking out the lifespan of the performance combustion engine as emissions' regulations relentlessly tighten. The hydrogen would only be needed until the catalytic converter reaches optimum temperature. That means the added equipment would be minimal, and the Hoffmann electrolysis apparatus method isn't complicated. Although if anyone could complicate it and somehow improve it in the process, that would be Porsche.This is one of those patents we could see coming to fruition sometime down the road. Porsche's signature powertrain is the flat-six, and hybridization isn't something the Porsche hardcore tends to appreciate – particularly when it comes to the 911. If there's a lightweight and reasonably unobtrusive way of improving emissions quality, a little hydrogen might go a long way.