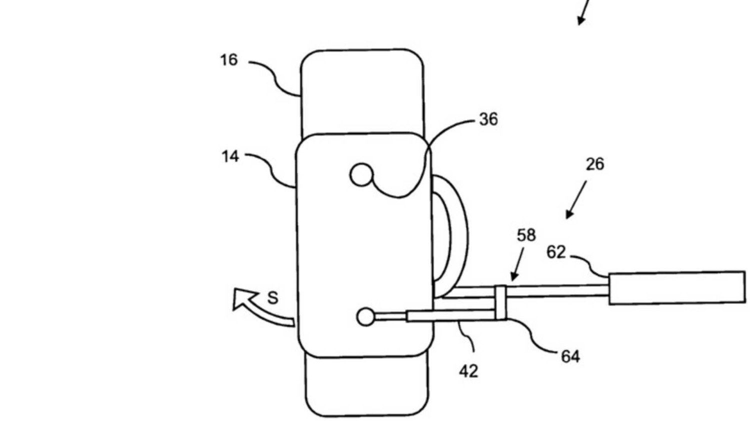
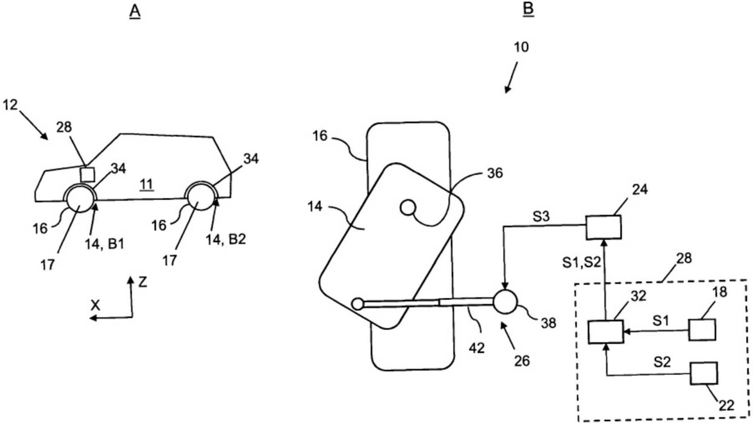
A clean car just looks better than a dirty one. With the paint shining like new and every bit of road gunk off the wheels, a vehicle can stick out in a parking lot in a sea of grimy rides. However, keeping a vehicle looking pristine either takes a lot of elbow grease to wash it yourself, or the expense of regularly going to the car wash. But what if it didn't have to be that way?Mercedes-BenzSpoiler alert: It's always going to be that way. But CarBuzz found a recent patent from Mercedes-Benz that could let owners go longer between washes, simply by keeping the crud off the car in the first place. The filing describes using mud guards, not unlike what you'll find on most every vehicle. However, these can actively adjust their position so that they wouldn't direct grit and grime onto the body. If that sounds like what mud guards do anyway, you're right. But apparently, Mercedes thinks moving them around could be even better. Here's how it works. Keep Your Mercedes Clean Mercedes-Benz / German Patent and Trademark OfficeAs Mercedes describes in the patent, the tire rolls across the ground at high speed, kicking up road debris onto the vehicle's body. Traditional mud guards can help mitigate this, but they're fixed in place. Unless a conventional design is absurdly wide, there's no way to protect the entire area where road debris could strike the car's exterior.The automaker's patent covers a pivoting panel mounted on a hinge on the fender. The piece could move in multiple directions and would have "an extended position to protect a door handle or other vehicle structures from the spray pattern of a tire." The filing describes multiple ways of making this concept work. To determine the ideal position for the flap, there could be steering angle sensors, rain sensors, cameras, and GPS monitoring the road conditions.Mercedes-Benz / German Patent and Trademark OfficeThe moving section of the active mud guard could work several ways, too. Mercedes describes using a hydraulic strut, an electric motor, and a direct connection to the vehicle's steering linkage as possible ways to control the system. When filing a patent, it's common to outline multiple methods for making a system function, so a company is free to implement the concept in the way that best suits a given application.According to Mercedes, the movable mudguard "results in improved protection against dirt, snow, and stone chips, especially when cornering and in vehicles with rear-axle steering." The result is that "protection is maximized, repair costs are reduced, and the vehicle's paintwork is preserved."The active mud guard is an intriguing application of active aerodynamics. Most of these systems exist to make a vehicle cut through the air more efficiently or to increase downforce, not to direct airflow to keep the exterior clean.Since Mercedes-Benz vehicles are premium products, owners have even more incentive to keep their cars looking spotless. They're already paying more than the average model on the road, and it makes sense to protect that investment. In theory, an active mud guard could be one more way to keep a machine looking shiny while going down the road.But is the extra tech – both in terms of added cost and extra complexity – really worth potentially keeping the side of your car a little cleaner for a little longer?Patent filings do not guarantee the use of such technology in future vehicles and are often used exclusively as a means of protecting intellectual property. Such a filing cannot be construed as confirmation of production intent.Source: German Patent and Trademark Office