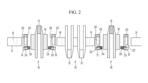
Hyundai Motor Group is a company that doesn't seem tied down to any one particular powertrain technology. Yes, it has invested heavily in bringing EVs to market, but it also keeps adding hybrids. It recently revealed a new generation of the hydrogen fuel-cell powered Nexo. It's also, apparently, working on squeezing out every last bit of power and efficiency it can from just combustion engines.The evidence for that last one consists of two recently published patents that CarBuzz found. These focus on variable-compression engines that Nissan has tried, with some degree of difficulty or failure, depending on how you feel about the Japanese company. Hyundai thinks it can take the idea to the next level, though if it wants to bring these technologies to reality, it really needs to ensure things actually work.Hyundai Hyundai Wants To Vary Compression, Displacement, And Stroke Duration The two patents filed jointly by Hyundai and Kia describe two different technologies for adjusting how the piston and crankshaft behave in an engine. They were both submitted in 2025 to the US Patent and Trademark Office, and were published just a few days ago. We'll start with the patent that focuses on compression and displacement, since that's the easiest to understand and explain, in part because it's quite similar to Nissan's system.Nissan Normally, a piston is connected directly to the crankshaft via a connecting rod. It has a fixed travel giving it a specific displacement, and its position relative to the top of the combustion chamber sets the compression ratio. In a Nissan VC-Turbo engine, another rod connected to a separate shaft and adjuster, can adjust the angle of a "multilink" that the piston's connecting rod attaches to. This adjusts the position of the piston, changing the compression ratio. The computer also adjusts parameters such as fuel, spark, and timing to accommodate the different positions. However, Nissan's system doesn't change the displacement.Hyundai / U.S. Patent and Trademark Office This is where Hyundai's design differs. It appears that the Hyundai setup features one fewer rod, giving the main control rod additional leverage and range of movement on the piston and pivoting crank rod. As a result, not only can the position of the piston be moved to change the compression ratio, but the piston can be moved more or less up and down, changing the amount of air it moves in and out, or the displacement.Hyundai / U.S. Patent and Trademark Office As for the other patent, it's a little more difficult to decipher. Our understanding from reading it and looking at the drawings is that Hyundai is sort of applying variable valve timing technology to the crankshaft. The pistons seem to be connected to crank journals that aren't part of a single crankshaft. Instead, those journals appear to be separate components that can twist within a limited range independently of the rest of the crank, allowing for adjustment of stroke duration. Why Hyundai Is Looking At This With a conventional engine that has a fixed compression ratio and displacement, you'll always have to make compromises on power and efficiency. Things like variable valve timing and lift, more advanced fuel injection, and advancements in aspiration have helped reduce those compromises, but the more things you can adjust, the less you hypothetically have to compromise on.Infiniti Just as Nissan hoped to be able to combine a high-boost, high-power engine with low compression, and a low-boost, high-compression, fuel efficient engine with the VC-Turbo design, Hyundai wants to do the same. Of course, the variation between power and efficiency could be even greater by adjusting displacement and stroke duration on top of just compression. Any benefits seen in a purely combustion engine would also translate to a hybrid. So Hyundai's investment in this technology wouldn't go to waste, even if all its combustion engines in the near future are electrified on some level. Nissan Shows There Are Risks While Nissan's VC-Turbo may have offered some benefits, they've also run into problems. Most notable is a recent recall of more than 400,000 vehicles with the engines, both in four- and three-cylinder configurations. The complex engines with their various linkages are dependent on various bearings, and it seems that they could wear out prematurely on recalled vehicles, which would lead to a full engine replacement. That kind of recall is bad for reputation, and it's expensive. Hyundai is also no stranger to major engine recalls, too. So, if the company wants to pursue this technology, it definitely needs to be really sure about the engineering.Patent filings do not guarantee the use of such technology in future vehicles and are often used exclusively as a means of protecting intellectual property. Such a filing cannot be construed as confirmation of production intent.Source: US Patent and Trademark Office