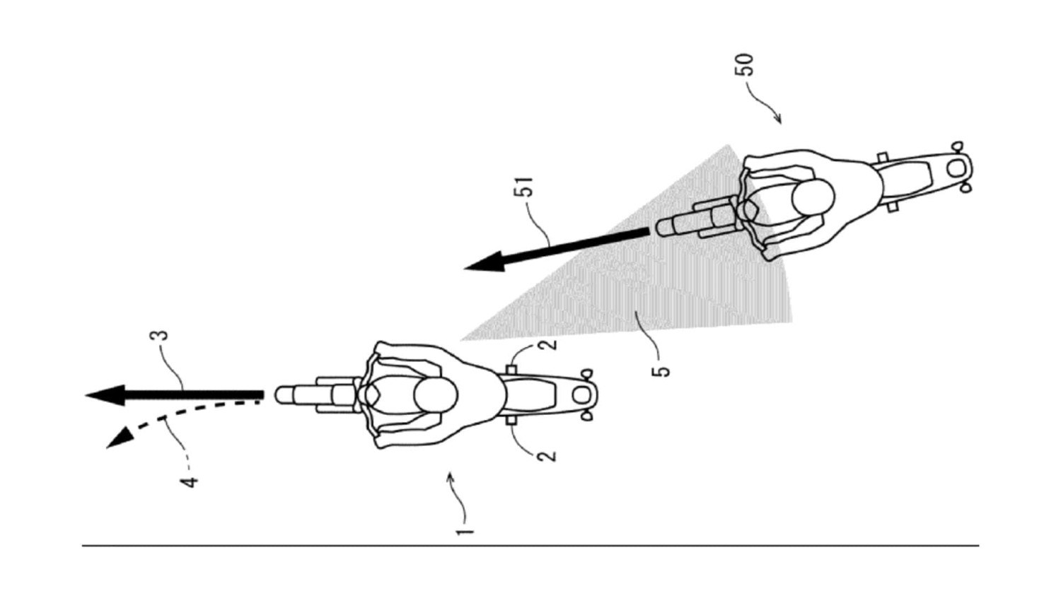
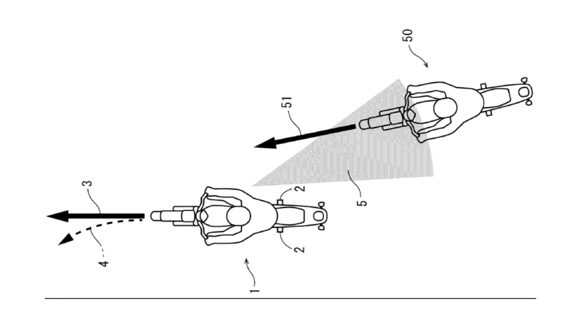
Honda telah mengajukan paten baru yang terdengar seperti peningkatan keamanan yang logis di atas kertas, tetapi terasa jauh lebih rumit ketika Anda memikirkan apa artinya bagi pengendara yang sebenarnya. Sistem ini menggunakan kamera untuk memantau titik-titik buta sepeda motor dan, jika kendaraan lain mulai mendekat, sistem ini dapat memberikan input kemudi melalui sebuah aktuator untuk membantu sepeda motor menghindari tabrakan. Sederhananya, sepeda motor dapat membelokkan setang untuk Anda. Idenya banyak dipinjam dari sistem keselamatan mobil modern. Bayangkan bantuan kemudi darurat atau penghindaran titik buta, di mana mobil dengan lembut menyenggol dirinya sendiri dari bahaya jika pengemudi tidak bereaksi tepat waktu. Honda mengadaptasi logika tersebut ke sepeda motor, di mana input kemudi secara langsung memengaruhi keseimbangan, kemiringan, dan kepercayaan diri pengendara. Solusi teknologi yang diusulkan Honda dapat membuat sepeda motor Anda secara otomatis menghindari rintangan dan menghindari tabrakan. Menurut paten tersebut, sistem ini secara konstan memeriksa input pengendara. Jika Anda sudah mengemudikan, berakselerasi, atau mengerem, sepeda motor akan menganggap Anda telah melihat kendaraan yang mendekat dan dapat segera memberikan bantuan kemudi yang lebih kuat. Jika Anda tidak melakukan apa pun, sistem akan mengasumsikan bahwa Anda melewatkan ancaman tersebut dan secara bertahap meningkatkan torsi kemudi agar palang tidak tiba-tiba bergerak dan membuat Anda takut. Dari perspektif teknologi dan rekayasa, ini sangat bijaksana. Honda sangat memahami bahwa sepeda motor tidak bisa berperilaku seperti mobil. Koreksi kemudi yang tiba-tiba pada dua roda bisa berbahaya, sehingga sistem dirancang untuk melakukan intervensi dengan lembut dan hanya jika diperlukan. Namun, di sinilah ketidaknyamanan dimulai. Bersepeda motor selalu tentang kesadaran dan tanggung jawab. Anda berkendara dengan asumsi bahwa segala sesuatu di sekitar Anda berpotensi menimbulkan bahaya. Bahkan ketika ada sesuatu yang bukan kesalahan Anda, Anda tetap mengendarainya. Pola pikir tersebut bukanlah pilihan. Itu adalah cara pengendara untuk tetap hidup. Bagi banyak dari kita, bersepeda juga merupakan cara untuk melepaskan diri. Tidak ada layar. Tidak ada peringatan. Tidak ada perangkat lunak yang membantu menyelamatkan hari. Hanya ada Anda, sepeda motor, dan jalanan. Sebagian besar pengendara yang saya kenal berkendara karena alasan tersebut, dan kemungkinan besar Anda juga demikian. Itulah mengapa paten ini terasa seperti Honda yang menyerah pada obsesi modern untuk menambahkan lebih banyak teknologi pada segala hal. Kontrol jelajah masuk akal untuk perjalanan panjang di jalan raya. Kontrol ini mengurangi kelelahan dan benar-benar meningkatkan kenyamanan. Namun di luar itu, segalanya menjadi lebih suram. Peringatan titik buta sudah memecah belah opini. Intervensi kemudi yang sebenarnya melewati batas bagi banyak pengendara. Kekhawatirannya bukan karena sistemnya tidak berfungsi. Honda tidak membuat teknologi yang ceroboh. Yang dikhawatirkan adalah apa yang terjadi dari waktu ke waktu. Mengandalkan motor untuk menangkap ancaman blind-spot cukup sering, dan waktu reaksi menjadi lambat. Kesadaran situasional memudar. Ketajaman yang dibutuhkan dalam berkendara menjadi tumpul. Pada sepeda motor, keunggulan itu mungkin merupakan hal yang paling penting di luar sana. Ada juga realitas kerumitan. Kamera menjadi kotor. Sensor salah membaca situasi dan bisa bingung dengan bayangan. Perangkat lunak pasti gagal dan menjadi usang. Setiap lapisan baru menambah bobot, biaya, dan lebih banyak hal yang bisa salah jauh dari dealer dengan alat yang tepat. Honda mencoba mengurangi hal ini dengan intervensi bertahap dan pemeriksaan niat pengendara, tetapi kerumitan tetaplah kerumitan. Jelas, algoritme mempertimbangkan banyak hal sebelum memutuskan untuk ikut campur. Tapi apakah itu masih sesuatu yang benar-benar kita butuhkan? Sejujurnya, Honda tidak sendirian. BMW, Ducati, dan yang lainnya juga sedang menuju ke arah yang sama dengan sistem keselamatan berbasis radar dan alat bantu pengendara yang canggih. Paten ini hanya menunjukkan seberapa jauh pemikiran tersebut dapat dikembangkan. Jadi, apakah teknologi ini akan sampai pada tahap produksi adalah pertanyaan lain. Banyak paten yang tidak pernah terwujud. Jika ya, nantikan saja pada model touring atau petualangan unggulan jauh sebelum model sporty. Dan kemungkinan besar, banyak pengendara yang akan mematikannya. Namun, pesannya jelas. Sepeda motor menjadi lebih pintar, lebih otonom, dan lebih banyak digerakkan oleh perangkat lunak. Hal ini mungkin dapat meningkatkan keselamatan di atas kertas. Namun, hal ini juga berisiko mengubah pola pikir yang telah membuat para pengendara sepeda motor tetap bertahan selama beberapa dekade. Ketika Anda berkendara, Anda bertanggung jawab atas segala sesuatu di sekitar Anda. Mengganti tanggung jawab tersebut dengan kode, bahkan kode yang bermaksud baik sekalipun, mungkin bukan cara yang cerdas.