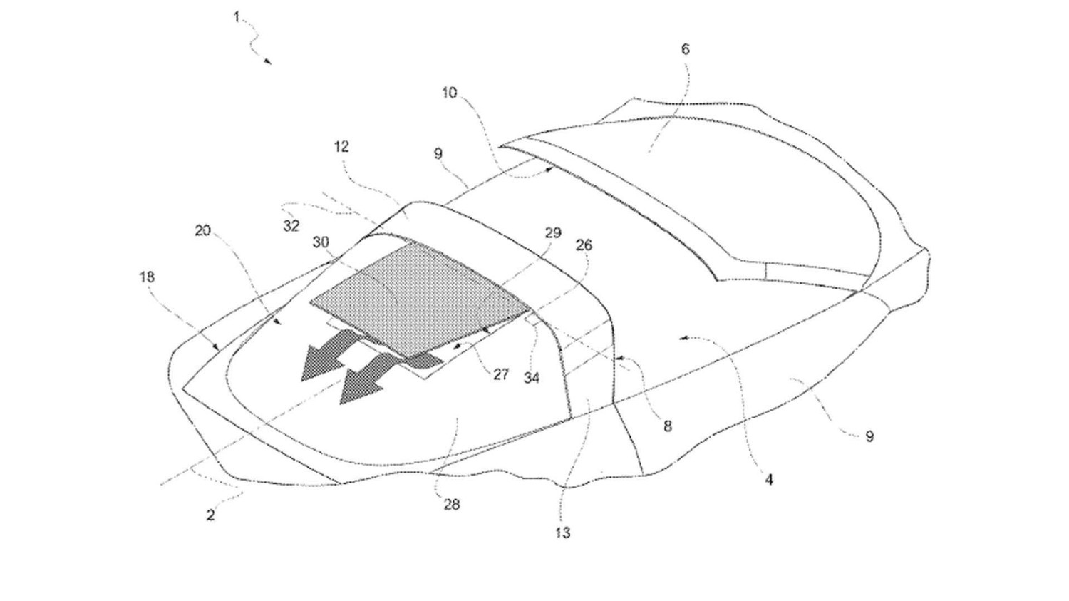
A Targa roof serves up just enough open-air motoring for drivers who want a taste of the breeze without living with a convertible’s trade-offs, such as awkward rooflines when buttoned up and lingering concerns about susceptibility to poor weather, even if modern retractable hardtops have largely closed that gap.The design, introduced in 1965 on the original Porsche 911 Targa as a reaction to the possibility of convertibles being outright banned over safety concerns, features a removable roof panel and a fixed rear windshield (though often capable of moving to store the roof). Targas also typically feature a fixed bar to add rigidity while also serving as rollover protection. However, while the design fixes many of the issues of the traditional convertible, there is still a glaring drawback with Targas – one Ferrari may have come up with a solution for. Trying To Tame The Targa FerrariAnyone who's spent time in a Targa, even recent examples likeFerrari's own 812 Competizione Afrom a few years back, will be familiar with the drawback. With the roof open, the rushing air doesn’t simply glide over the cabin. Instead, it spills in, churns, and gets trapped against the fixed rear glass. The result is a mix of wind roar and low-frequency buffeting, creating a thumping sound that’s barely noticeable around town but quickly builds as speed rises. That turbulence isn’t just a comfort issue either, as it creates aerodynamic drag that ends up hurting fuel economy.However, in a recently published patent application uncovered by CarBuzz, the company outlines a more sophisticated fix than the usual bolt-on wind blockers. Instead of relying on a simple mesh screen behind the seats to help break up the airflow, like you find in many open-top cars, Ferrari proposes a movable flap forming part of the rear window element, designed to actively manage how air flows through and around the open roof area.FerrariThe system works by redirecting that turbulent air – or by keeping it out of the cabin in the first place. Depending on its position, the flap either channels airflow cleanly out of the cabin or redirects it upward so it skims over the opening rather than tumbling inside. The result is smoother airflow outside the cabin, reduced buffeting inside, and a smaller drag penalty. Whether it works in the real world remains to be seen, however. Is Ferrari Planning A New Targa? FerrariDespite the occasional online speculation, there's currently no indication that Ferrari is planning to launch a new supercar with a Targa roof. However, it wouldn't be out of the ordinary, especially considering the Italian brand's penchant for building few-off or bespoke special editions with all kinds of interesting features.Ferrari's last true Targa was the 812 Competizione A, a hardcore limited-edition take on the front-engine V12 platform. It served as the open-air counterpart to the 812 Competizione coupe, the swan song for the 812 Superfast lineage (with "A" standing for Aperta, Italian for "open"). Ferrari has also offered Targa-style removable roofs on its mid-engine supercars and even hypercars over the years, most notably the LaFerrari Aperta. In other words, it's not out of the realm of possibilities that this new patented design appears on an open-top version of the latest Ferrari F80.Patent filings do not guarantee the use of such technology in future vehicles and are often used exclusively as a means of protecting intellectual property. Such a filing cannot be construed as confirmation of production intent.Sources: USPTO