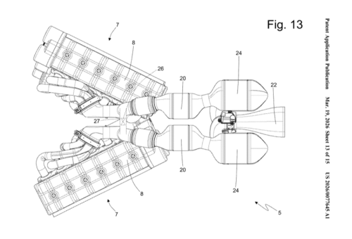
Ferrari is once again pushing the boundaries of what a combustion engine can be. Just when we thought its oval-piston concept was radical, a newly surfaced patent reveals that it was only the tip of the iceberg. This time, the brand is rethinking the V12 from the ground up to ensure its survival in an electrified future.Rewriting the V12 Rulebook In essence, the new twelve-cylinder replaces one large engine with two smaller inline-six units, each with its own electric motor, positioned in a V-like layout but operating independently. Since these are not mechanically linked to their own crankshafts, the engines can run either synchronously or asynchronously, meaning they can spin at different speeds depending on demand.By decoupling the engines from a traditional drivetrain layout, Ferrari can mount them at wider, unconventional angles that better follow the car’s body shape. The result is a wider, shorter powertrain that will allow for improved aerodynamic efficiency, a lower center of gravity, and a lack of bulky transmission components. In theory, this could lead to a tighter, stiffer chassis. But are the pros enough to outweigh the cons?No Mechanical Link to the Wheels The biggest departure from Ferrari tradition is how power is delivered. In this setup, the combustion engines don't drive the wheels whatsoever. Instead, they function as generators, supplying energy to an electric drivetrain that ultimately powers the car. In effect, this turns whatever supercar it'll live in into a high-performance extended-range electric vehicle (EREV). Not very Ferrari, is it?There is one sliver of good news, though. Because the engines don't power the wheels and operate on their own, Ferrari can control their behavior more freely – adjusting revs, load, and sound regardless of vehicle speed. In other words, the two inline-six engines will still make noise and give you the illusion of gear shifts. Still, some noise is better than no noise, albeit synthetically generated.Still Worthy of The Prancing Horse Emblem? We've seen hybrid Ferraris like the SF90 and 296 GTB before – they're not what you'd typically associate with Maranello's finest, but not completely sacrilegious creations, either. An EREV Ferrari, on the other hand? That's a hard pill to swallow, especially considering fans already aren't very fond of the idea of an all-electric Ferrari.Although we're delighted Ferrari isn't abandoning the V12 as a whole, we're not sure digitizing it will be sufficient to match the current 12 Cilindri's 6.5-liter unit's scream, and whether the "virtual" gearbox will be enough to meet Ferrari fanatics' standards, especially since it won't power the wheels at all. From an engineering perspective, the patent is innovative and promising, but it might be a step too far from the brand we all know and used to love.