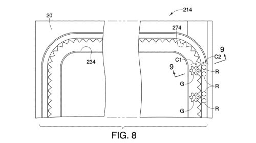
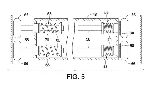
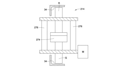
New Nissan Patent Reveals Interesting Split Roll-Up Tailgate for Trucks

New Nissan Patent Reveals Interesting Split Roll-Up Tailgate for Trucks
New Nissan Patent Reveals Interesting Split Roll-Up Tailgate for Trucks
New Nissan Patent Reveals Interesting Split Roll-Up Tailgate for Trucks
New Nissan Patent Reveals Interesting Split Roll-Up Tailgate for Trucks
New Nissan Patent Reveals Interesting Split Roll-Up Tailgate for Trucks
New Nissan Patent Reveals Interesting Split Roll-Up Tailgate for Trucks
New Nissan Patent Reveals Interesting Split Roll-Up Tailgate for Trucks
New Nissan Patent Reveals Interesting Split Roll-Up Tailgate for Trucks
New Nissan Patent Reveals Interesting Split Roll-Up Tailgate for Trucks

Related Posts

Nissan Leaf

Nissan Leaf

75 · Mason Walker · 1 days ago

© Top Car News Network. All Rights Reserved. Designed by TopCarNews